样品
成果详情
| 项目简介 | |||||
|---|---|---|---|---|---|
| 技术简介: | |||||
| 专利类型: | 实用新型 | 专利申请号: | CN202322009948.0 | 公开号: | CN220801702U |
| 专利权人: | 南方医科大学珠江医院 | 发明设计人: | 申志英 | ||
| 所属领域: | |||||
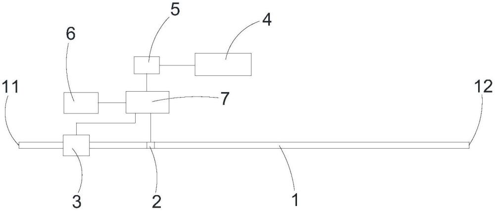
| 摘要: | 本实用新型涉及医疗器械技术领域,公开了一种心脏辅助装置,包括引流管、血流控制器、泵体、心电图检测仪、调控器、电源模块以及控制模块,所述引流管包括用于与人体股静脉连通的入流端和用于与人体股动脉连通的出流端,所述血流控制器和泵体均设于所述引流管上,所述心电图检测仪与所述调控器电性连接,所述电源模块、调控器、泵体及血流控制器均与所述控制模块电性连接。本申请的心脏辅助装置可以模仿病人的生理的血流动力状态,以适合患者的需求。 | ||||
| 补充信息 | |||||
| 转让方式: | 成熟度: | 预估价值: | |||
| 市场前景: | |||||