样品
成果详情
| 项目简介 | |||||
|---|---|---|---|---|---|
| 技术简介: | |||||
| 专利类型: | 实用新型 | 专利申请号: | CN202322960639.1 | 公开号: | CN221395031U |
| 专利权人: | 南方医科大学深圳医院 | 发明设计人: | 张冬梅;张贝贝;谭敬建 | ||
| 所属领域: | |||||
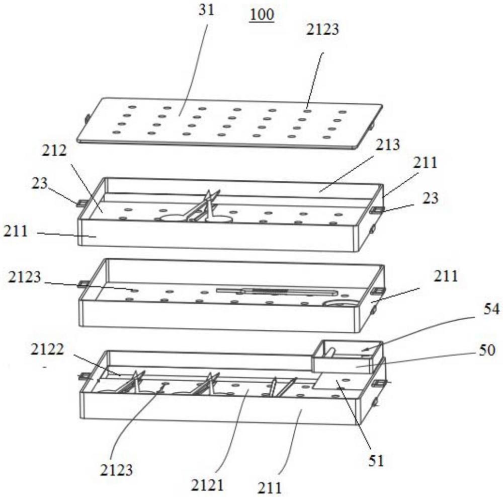
| 摘要: | 本实用新型适医疗器具技术领域,提供一种手术器械消杀及使用的保护盒,包括:盒体,包括多层层体,每层层体由多个侧板和一个底板构成,并且多个侧板和一个底板围合成具有开口的容置腔体;底板包括相互连接的支撑部和避让部;支撑部为一平面,支撑手术器械的手持部,避让部为向下倾斜的斜面,避让手术器械的操作部;并且在支撑部还设置有多个固定手持部的固定结构;并且多层层体在纵向上垂直排列;盖体,至少包括一上盖,盖设于多层层体中最上层的层体的开口处。借此,本实用新型最大程度降低手术器械与手术器具盒内壁在转运、清洗及消毒过程中发生碰撞的可能性,从而保证精细手术器械的锐利性,降低医务人员针刺伤的发生,减少手术器械的损耗。 | ||||
| 补充信息 | |||||
| 转让方式: | 成熟度: | 预估价值: | |||
| 市场前景: | |||||