样品
成果详情
| 项目简介 | |||||
|---|---|---|---|---|---|
| 技术简介: | |||||
| 专利类型: | 实用新型 | 专利申请号: | CN202023057041.4 | 公开号: | CN214313476U |
| 专利权人: | 浙江大学;南方医科大学 | 发明设计人: | 张孝通;陈武凡;夏灵 | ||
| 所属领域: | |||||
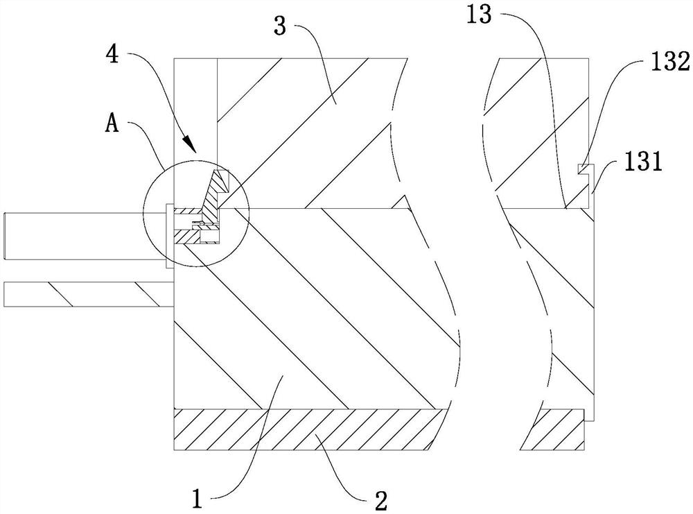
| 摘要: | 本申请涉及一种方便组装的微带线,包括绝缘安装板、铜片、铜棒以及连接组件,所述连接组件包括设置于铜片两侧的卡接件以及设置于所述绝缘安装板一侧的压紧件,所述绝缘安装板的顶部开设有供所述铜片安装的安装凹槽,所述安装凹槽的两侧开设有卡接凹槽,所述卡接件卡接于所述卡接凹槽内,所述卡接件具有延伸至所述铜片上方的定位板,所述定位板的侧壁与所述铜片的侧壁贴合,所述绝缘安装板远离铜片的一侧开设有供所述铜棒安装的放置凹槽,所述放置凹槽的顶部设置有一锁紧件,所述锁紧件部分嵌入所述铜棒内,所述压紧件设置于所述放置凹槽的另一侧,且与所述绝缘安装板连接。本申请具有降低对于微带线整体的维护成本的效果。 | ||||
| 补充信息 | |||||
| 转让方式: | 成熟度: | 预估价值: | |||
| 市场前景: | |||||