样品
成果详情
| 项目简介 | |||||
|---|---|---|---|---|---|
| 技术简介: | |||||
| 专利类型: | 实用新型 | 专利申请号: | CN202121365852.2 | 公开号: | CN215229390U | 
| 专利权人: | 南方医科大学南方医院 | 发明设计人: | 李霞燕;谢双莉;黄小小 | ||
| 所属领域: | |||||
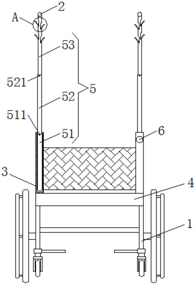
| 摘要: | 本实用新型公开了伸缩式输液架轮椅,包括轮椅本体和轮椅座板,所述轮椅座板设置于轮椅本体的顶部,所述轮椅本体两个扶手的后方均固定连接有套筒,所述套筒的内腔贯穿设置有伸缩输液架,所述伸缩输液架包括套杆一,所述套杆一活动连接于套筒的内腔,所述套杆一的内腔贯穿设置有套杆二,套杆二的内腔贯穿设置有伸缩杆。本实用新型通过轮椅本体、套筒、轮椅座板、伸缩输液架、套杆一、开孔一、套杆二、开孔二、伸缩杆、凹陷槽和直挂杆的配合使用,具备方便悬挂输液袋且方便收纳的优点,解决了传统的轮椅不带有输液架,不方便患者外出做检查时悬挂输液袋,而带有挂钩的输液架,挂钩不能收折起来,容易造成钩刮伤的问题。 | ||||
| 补充信息 | |||||
| 转让方式: | 成熟度: | 预估价值: | |||
| 市场前景: | |||||