样品
成果详情
| 项目简介 | |||||
|---|---|---|---|---|---|
| 技术简介: | |||||
| 专利类型: | 实用新型 | 专利申请号: | CN202320498290.1 | 公开号: | CN219517344U |
| 专利权人: | 南方医科大学深圳医院 | 发明设计人: | 李思怡 | ||
| 所属领域: | |||||
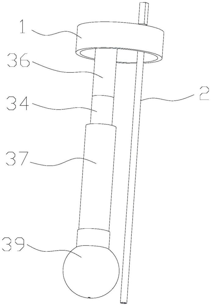
| 摘要: | 本实用新型涉及一种医用气体报警装置,包括瓶盖、设置在瓶盖上的吸液管以及液位报警组件;液位报警组件包括定位件、滑动件、浮动件与电控报警件;电控报警件设置在定位件背向瓶盖的一端;滑动件与定位件滑动连接;浮动件与滑动件连接;当滑动件从定位件的一端滑动至另一端时,电控报警件的正极与负极导通。本申请利用浮动件与滑动件的配合,将浮动件置于容器中,浮动件的高度随着液位的下降而下降,进而带动滑动件沿定位件滑动下移,当容器内液位即将用完时,浮动件下降至最低点,此时电控报警件的正负极导通,电控报警件响起,医务人员可及时得知容器中的透析液即将用完,及时更换透析液,避免影响透析治疗的进程,减少治疗过程中损耗的时间。 | ||||
| 补充信息 | |||||
| 转让方式: | 成熟度: | 预估价值: | |||
| 市场前景: | |||||