样品
成果详情
| 项目简介 | |||||
|---|---|---|---|---|---|
| 技术简介: | |||||
| 专利类型: | 实用新型 | 专利申请号: | CN201920448633.7 | 公开号: | CN209826998U |
| 专利权人: | 南方医科大学南方医院 | 发明设计人: | 邢同印;陈锦凤;黄颖;王莉慧;刘梅娟;王震;刘盼盼;邹莹莹;陈湘;上官佳鑫 | ||
| 所属领域: | |||||
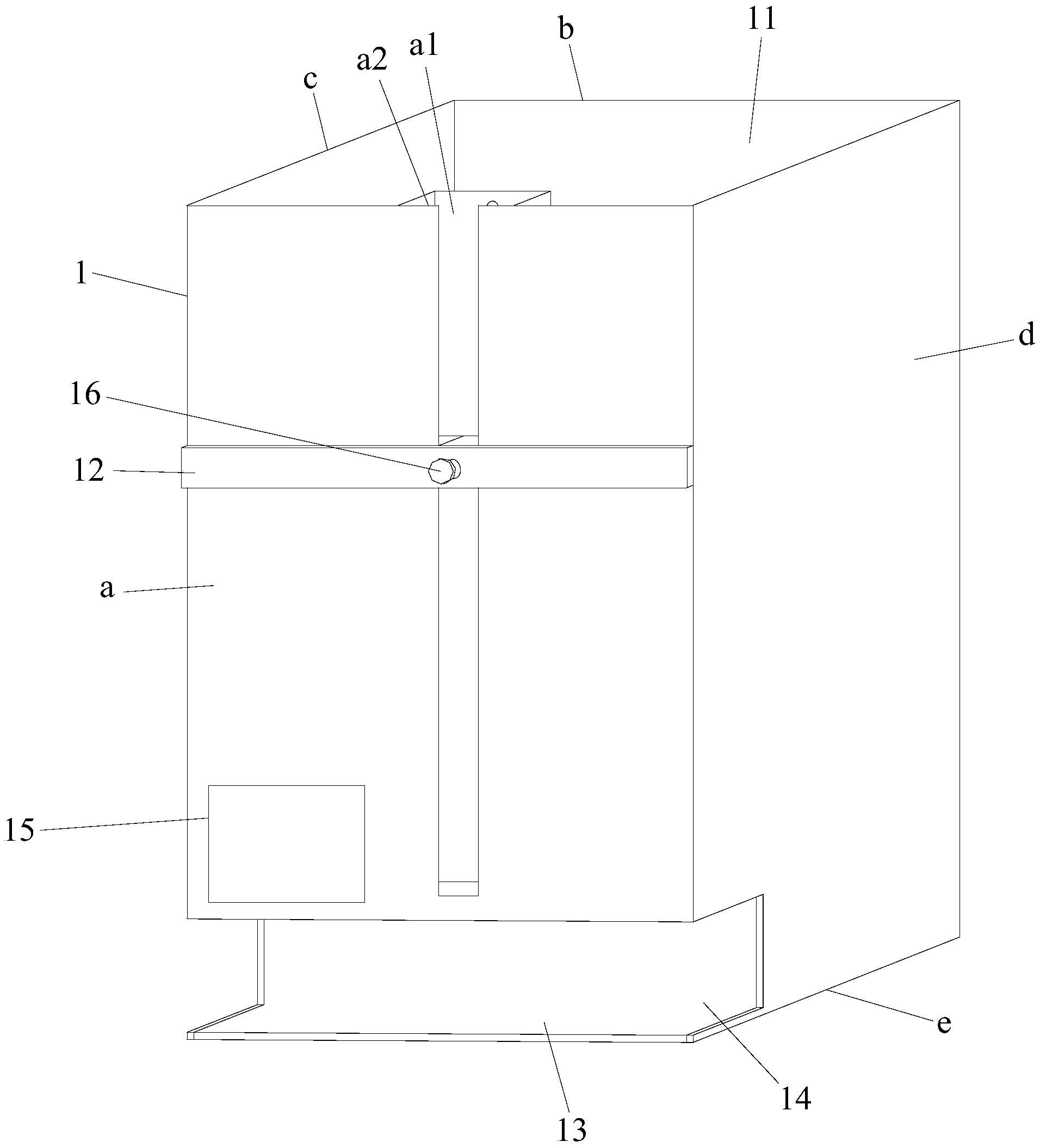
| 摘要: | 本实用新型公开了一种内镜治疗附件的备货和提醒订货盒,包括盒体,所述盒体由前板、后板、左板、右板及底板构成,盒体的顶部为敞开式的配件放入口,后板、左板、右板和底板均为非透明板或透明板,前板为透明板,前板的前侧装有可上下活动调节并定位的浮标式警示件,前板底部开有配件取出口。本实用新型的内镜治疗附件的备货和提醒订货盒可提高医护人员的工作效率。 | ||||
| 补充信息 | |||||
| 转让方式: | 成熟度: | 预估价值: | |||
| 市场前景: | |||||