样品
成果详情
| 项目简介 | |||||
|---|---|---|---|---|---|
| 技术简介: | |||||
| 专利类型: | 实用新型 | 专利申请号: | CN202021319874.0 | 公开号: | CN213190802U |
| 专利权人: | 南方医科大学珠江医院 | 发明设计人: | 彭花;王映;张艳珊;张玮莹;成媛;朱萍 | ||
| 所属领域: | |||||
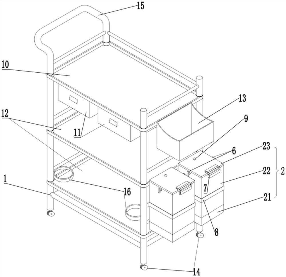
| 摘要: | 本实用新型公开了一种具有抽袋式垃圾桶的多功能医用治疗车,包括车体;在车体的一侧端设有若干垃圾桶,所述垃圾桶包括桶座、桶体和桶盖,在桶座的底部开设有用于放置卷筒式穿绳垃圾袋的垃圾袋仓,在垃圾袋仓的开口上设有一能够盖合垃圾袋仓开口的盖合结构,在桶座的顶部开设有与垃圾袋仓连通的抽袋口;在桶体的两侧外壁上设有用于固定穿绳垃圾袋的固定扣,还在桶体的外壁上设有一将桶盖盖合安装在桶体上的翻盖组件;其中,垃圾桶是通过桶体与一设在车体上的固定环可拆卸配合安装在车体上。本实用新型具有垃圾袋拿取装设方便、能够提高护理人员工作效率、确保护理人员不易接触到医疗垃圾污染源、有效降低护理人员受污染风险的优点。 | ||||
| 补充信息 | |||||
| 转让方式: | 成熟度: | 预估价值: | |||
| 市场前景: | |||||