样品
成果详情
| 项目简介 | |||||
|---|---|---|---|---|---|
| 技术简介: | |||||
| 专利类型: | 发明 | 专利申请号: | CN202410884539.1 | 公开号: | CN118416327A |
| 专利权人: | 南方医科大学南方医院 | 发明设计人: | 钟慧群;李冰;汤青云 | ||
| 所属领域: | |||||
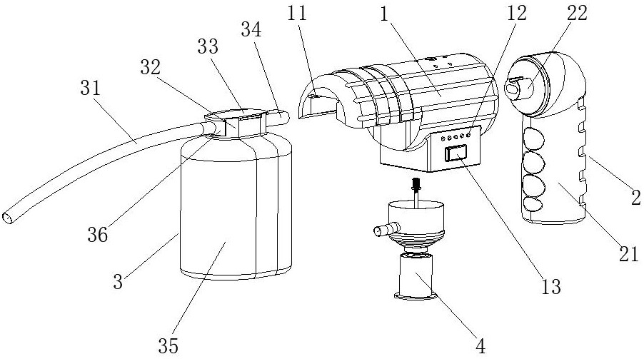
| 摘要: | 本发明提供了一种电动吸痰装置,包括:壳体,内部设置有第一腔室,前端设置有横向插槽,后端设置有插孔,横向插槽、插孔均与第一腔室连通;电源模块,包括握把和蓄电池,蓄电池固定在握把内部,握把的一端插接于插孔中;储痰模块,包括瓶体和引流管,瓶体可拆卸的插接于横向插槽中,引流管安装于瓶体上;动力模块,包括控制器、控制按钮和输气单元;电源模块、输气单元、控制按钮与控制器电连接;控制器、输气单元安装在第一腔室内;控制按钮固定在壳体的外部;瓶体与输气单元连通;装置采用模块化设计,各模块可快速组装和拆卸,提高了维护和更换效率,便于各模块单独清洗和消毒,降低交叉感染风险,减少操作失误,提高工作效率。 | ||||
| 补充信息 | |||||
| 转让方式: | 成熟度: | 预估价值: | |||
| 市场前景: | |||||