样品
成果详情
| 项目简介 | |||||
|---|---|---|---|---|---|
| 技术简介: | |||||
| 专利类型: | 实用新型 | 专利申请号: | CN201621492678.7 | 公开号: | CN206407391U |
| 专利权人: | 南方医科大学 | 发明设计人: | 王祥海;郭家松;吴燕妮;王金蕾;丘垂柳 | ||
| 所属领域: | |||||
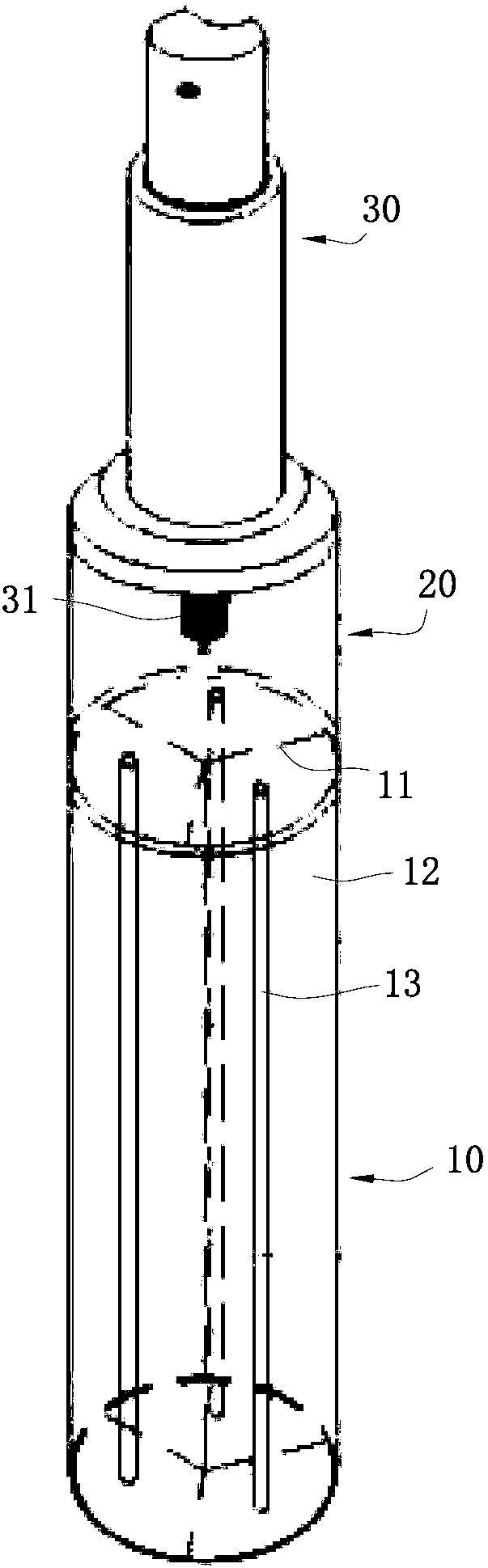
| 摘要: | 本实用新型公开了一种多用药剂喷雾器,包括瓶体和可旋转地连接在瓶体顶部开口的瓶盖,瓶盖上设有按压式喷头,按压式喷头内设有按压装置,按压式喷头设有与按压装置相连并伸入瓶盖内的导引吸管,瓶体内腔沿圆周方向设有隔板以将瓶体内腔分隔形成多个独立腔室,各独立腔室内分别设有吸管,当瓶盖依次转动预定角度时,导引吸管依次与各独立腔室内的吸管相连,瓶体内的多个独立腔室可以分别装入不同的医用药水,瓶盖转动带动导引吸管沿圆周方向移动,使得导引吸管可以与不同独立腔室内的吸管组合,进而可以雾化喷出不同药水进行户外急救处理,本实用新型通过单个喷雾器集成储存不同用途药水,减少了药水分装,便于户外携带使用。 | ||||
| 补充信息 | |||||
| 转让方式: | 成熟度: | 预估价值: | |||
| 市场前景: | |||||