样品
成果详情
| 项目简介 | |||||
|---|---|---|---|---|---|
| 技术简介: | |||||
| 专利类型: | 实用新型 | 专利申请号: | CN202321873561.3 | 公开号: | CN220231026U |
| 专利权人: | 南方医科大学深圳医院 | 发明设计人: | 卢克宇;李夏西;游丽娟 | ||
| 所属领域: | |||||
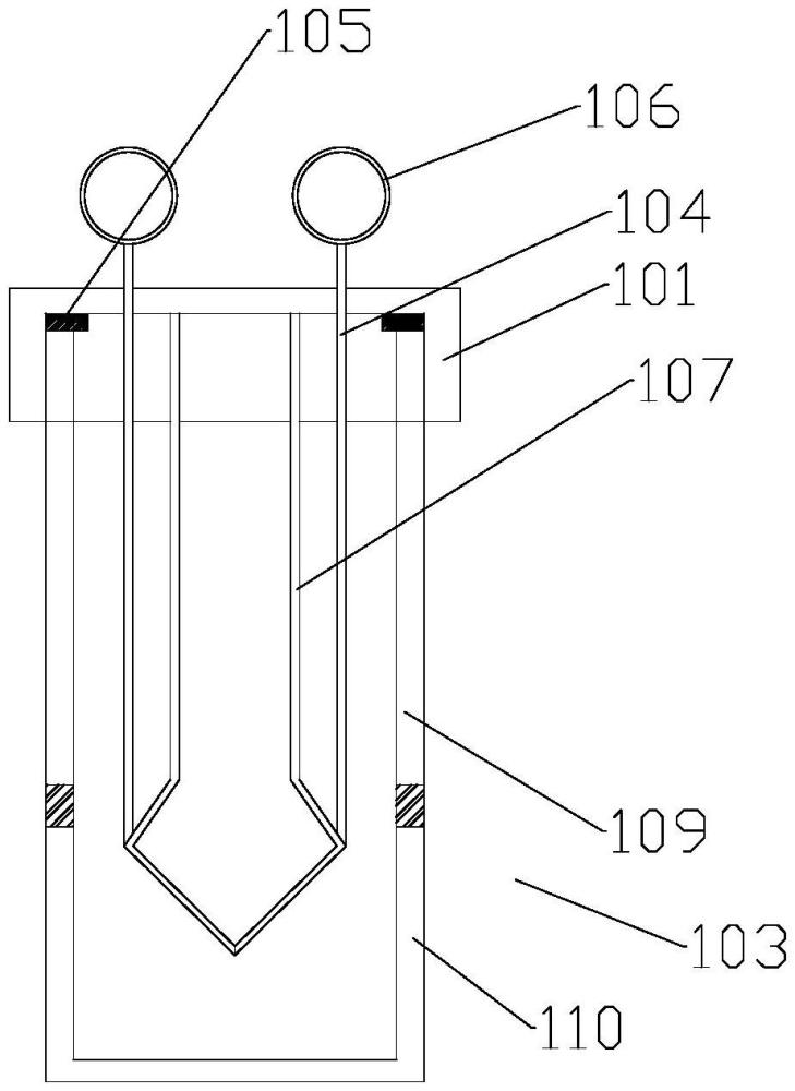
| 摘要: | 本实用新型涉及医疗器械技术领域,具体涉及一种粪便样本采集检测设备,包括管盖和收集组件,收集组件包括圆管、拉绳、第一密封圈、圆环、两根弹力杆和两个锥形块;管盖用于闭合装置的封口,管盖与圆管螺纹连接,使用装置时将管盖取下,拉动两指穿过圆环拉动拉伸,使弹力杆发生形变,弹力杆上的两个锥形块向外张开,伸进粪便中,松开圆环,将粪便夹取在两个锥形块形成的空间内,在检测粪便时继续拉动圆环张开锥形块即可取出粪便,解决了在实际使用的过程中,需要取出收集管中收集过后的小勺和收集管中的粪便,但在运输过程粪便容易粘连在收集管上,不便于后续的检测的问题。 | ||||
| 补充信息 | |||||
| 转让方式: | 成熟度: | 预估价值: | |||
| 市场前景: | |||||