样品
成果详情
| 项目简介 | |||||
|---|---|---|---|---|---|
| 技术简介: | |||||
| 专利类型: | 实用新型 | 专利申请号: | CN202222983706.7 | 公开号: | CN218594997U |
| 专利权人: | 南方医科大学 | 发明设计人: | 谭乐宜 | ||
| 所属领域: | |||||
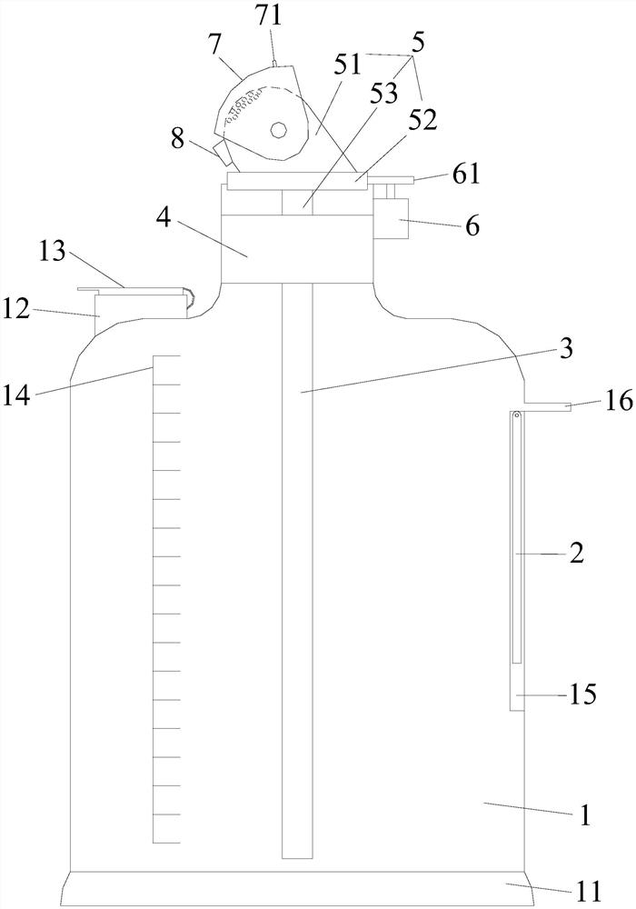
| 摘要: | 本实用新型公开了一种自动感应旋转的酒精喷壶,包括壶体,壶体内有供液管,壶体的上端安装有与供液管连接的增压泵和与增压泵连接的旋转式喷头,旋转式喷头处安装有感应器,所述旋转式喷头处铰接安装有可打开和遮盖旋转式喷头的喷孔的保护盖。本实用新型的自动感应旋转的酒精喷壶通过在喷头处增加保护盖,可有效防止灰尘进入喷头内的喷孔内,防堵塞。 | ||||
| 补充信息 | |||||
| 转让方式: | 成熟度: | 预估价值: | |||
| 市场前景: | |||||