样品
成果详情
| 项目简介 | |||||
|---|---|---|---|---|---|
| 技术简介: | |||||
| 专利类型: | 实用新型 | 专利申请号: | CN202021713609.0 | 公开号: | CN213373244U | 
| 专利权人: | 南方医科大学南方医院 | 发明设计人: | 丁静;廖卫华;薛乔;杨赛芳;方丹;郭兴华;吴丽婷 | ||
| 所属领域: | |||||
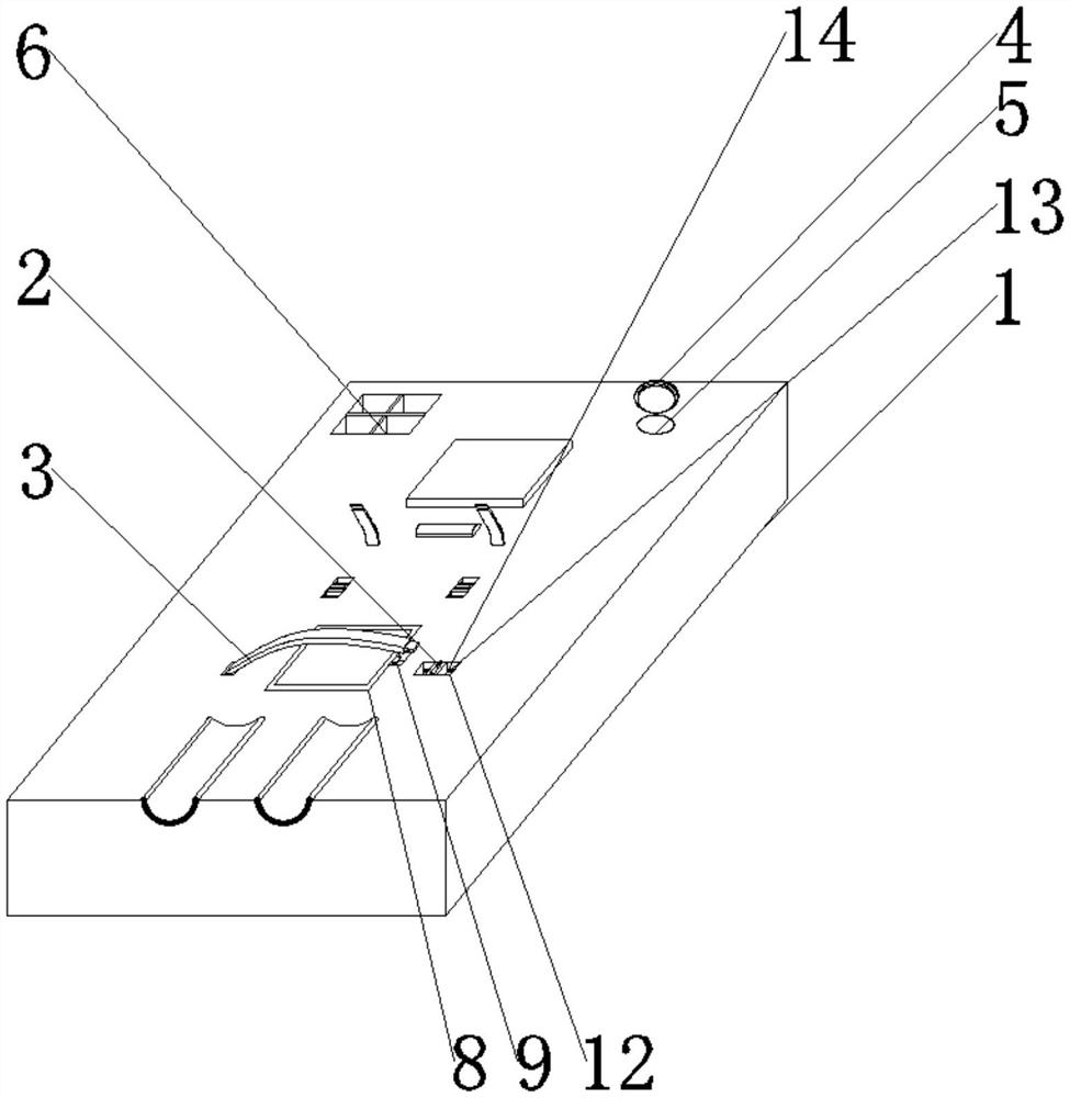
| 摘要: | 本实用新型属于医疗辅助设施技术领域,具体公开了一种新生儿护理用卧位枕,包括装置整体、固定带和矩形槽体,装置整体中间部位左侧固定连接有固定带,装置整体的中间部位右侧固定连接有凹槽,凹槽的内部嵌入连接有矩形槽体,装置整体的顶部左侧固定连接有物品放置槽,装置整体的顶部右侧固定连接有奶品放置槽,奶瓶放置槽的顶部活动连接有顶盖,顶盖的底部设置有加厚材料,可以和奶瓶放置槽形成密封结构,从而能够对其内部的牛奶进行保温,物品放置槽通过隔板分成四个区域,可以对护理物品进行分类存放,通过设置有固定机构,可以根据新生儿的体型,对固定带进行调节,使固定带能够更好的对新生儿进行固定,有效的提高了装置整体固定性。 | ||||
| 补充信息 | |||||
| 转让方式: | 成熟度: | 预估价值: | |||
| 市场前景: | |||||