样品
成果详情
| 项目简介 | |||||
|---|---|---|---|---|---|
| 技术简介: | |||||
| 专利类型: | 实用新型 | 专利申请号: | CN202021189941.1 | 公开号: | CN213251846U |
| 专利权人: | 南方医科大学南方医院 | 发明设计人: | 钟晓红;冯晓丹;龚妮容;邱胜;唐丹;杨聪;彭乔伊;张婷婷 | ||
| 所属领域: | |||||
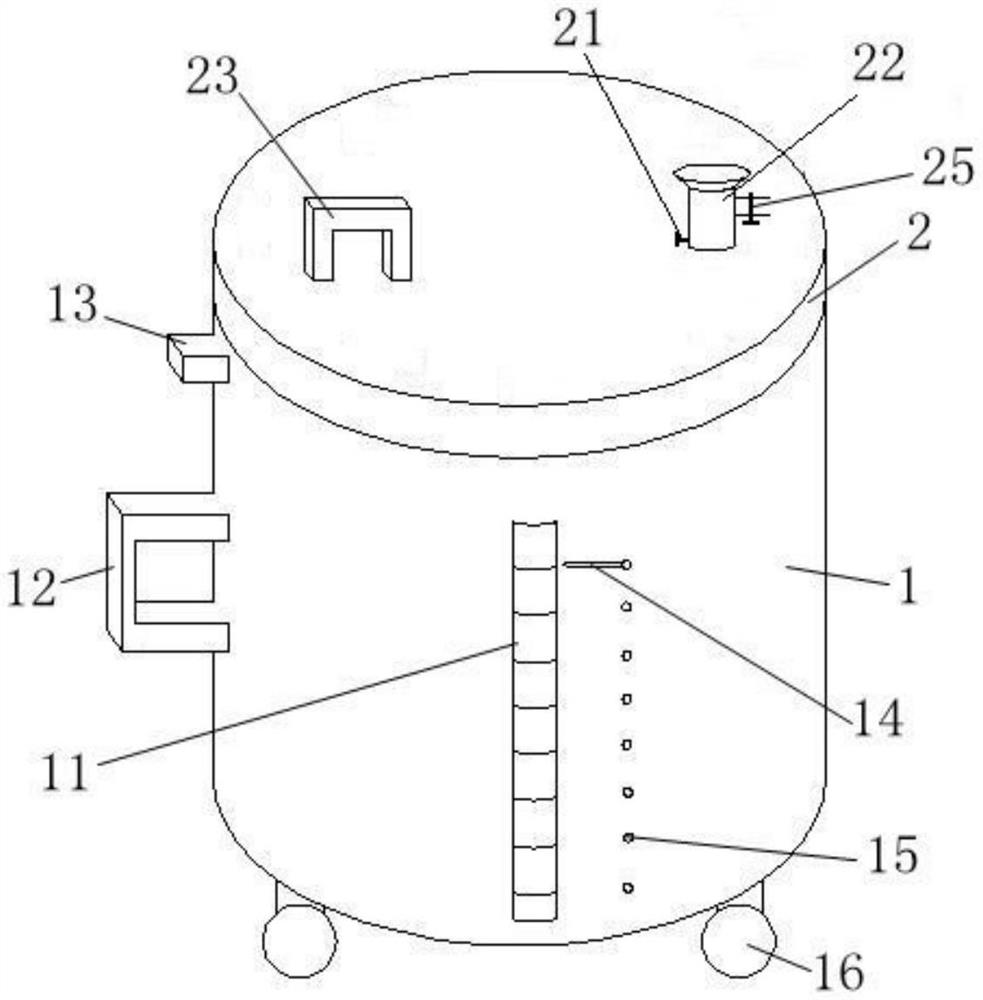
| 摘要: | 本实用新型公开了一种用于自动化腹膜透析机废液收集的医用容器装置。一种用于自动化腹膜透析机废液收集的医用容器装置,包括透明度高的桶体,其中,在桶体的侧面沿竖直方向设有刻度尺,在所述桶体的侧面设有倾倒把手,所述桶体的底部设置有滑轮,在所述桶体的开口端可拆卸安装有桶盖,在所述桶盖上可拆卸安装有用于使外设腹膜透析机引流管穿过桶盖进入桶体进行废液引流的引流管。本实用新型一种用于自动化腹膜透析机废液收集的医用容器装置,操作简单方便并且能够帮助病人或家属快速清理废液和防止污染。 | ||||
| 补充信息 | |||||
| 转让方式: | 成熟度: | 预估价值: | |||
| 市场前景: | |||||