样品
成果详情
| 项目简介 | |||||
|---|---|---|---|---|---|
| 技术简介: | |||||
| 专利类型: | 实用新型 | 专利申请号: | CN201720099449.7 | 公开号: | CN207136853U |
| 专利权人: | 南方医科大学南方医院 | 发明设计人: | 王凤娥;梁洁;杨俊明 | ||
| 所属领域: | |||||
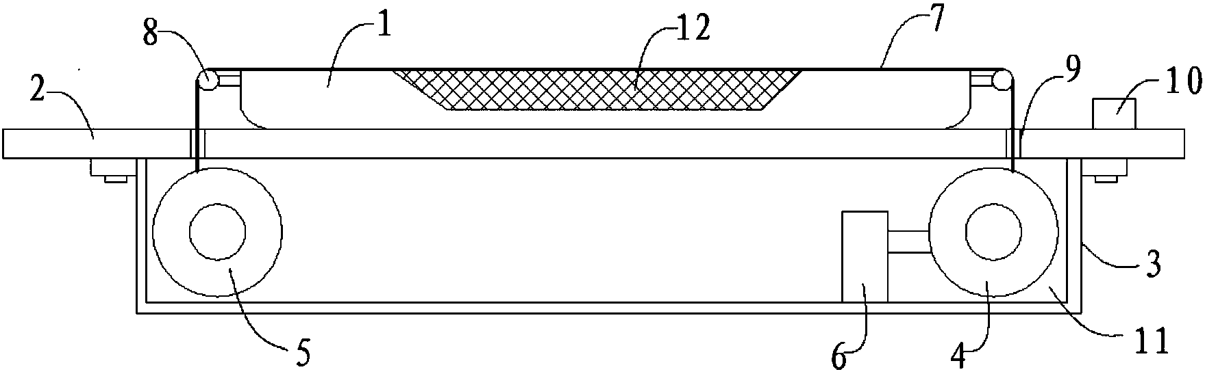
| 摘要: | 本实用新型公开了一种新型抽血垫装置,包括抽血垫本体,所述抽血垫本体放置在外部的台面上,所述台面下方设置有壳体,所述壳体的内部两侧分别设有主动卷筒和从动卷筒,所述主动卷筒与一驱动电机相连接,所述从动卷筒上缠绕有布带,所述布带的自由端绕过所述抽血垫本体的上表面后与所述主动卷筒相连接,所述抽血垫本体的两侧还分别对称的设有一导向辊,所述导向辊与所述布带相配合。本实用新型避免了患者之间的疾病传播或交叉感染,并且,通过在抽血垫本体的两侧设置导向辊,通过导向辊的导向作用,避免了布带在移动过程中与抽血垫本体上表面的摩擦,提高了布带和抽血垫本体的使用寿命。 | ||||
| 补充信息 | |||||
| 转让方式: | 成熟度: | 预估价值: | |||
| 市场前景: | |||||