样品
成果详情
| 项目简介 | |||||
|---|---|---|---|---|---|
| 技术简介: | |||||
| 专利类型: | 实用新型 | 专利申请号: | CN201921137633.1 | 公开号: | CN210311283U |
| 专利权人: | 南方医科大学南方医院 | 发明设计人: | 王秀英;黄榕;郭亚云;郭萍;谢一色;徐丽 | ||
| 所属领域: | |||||
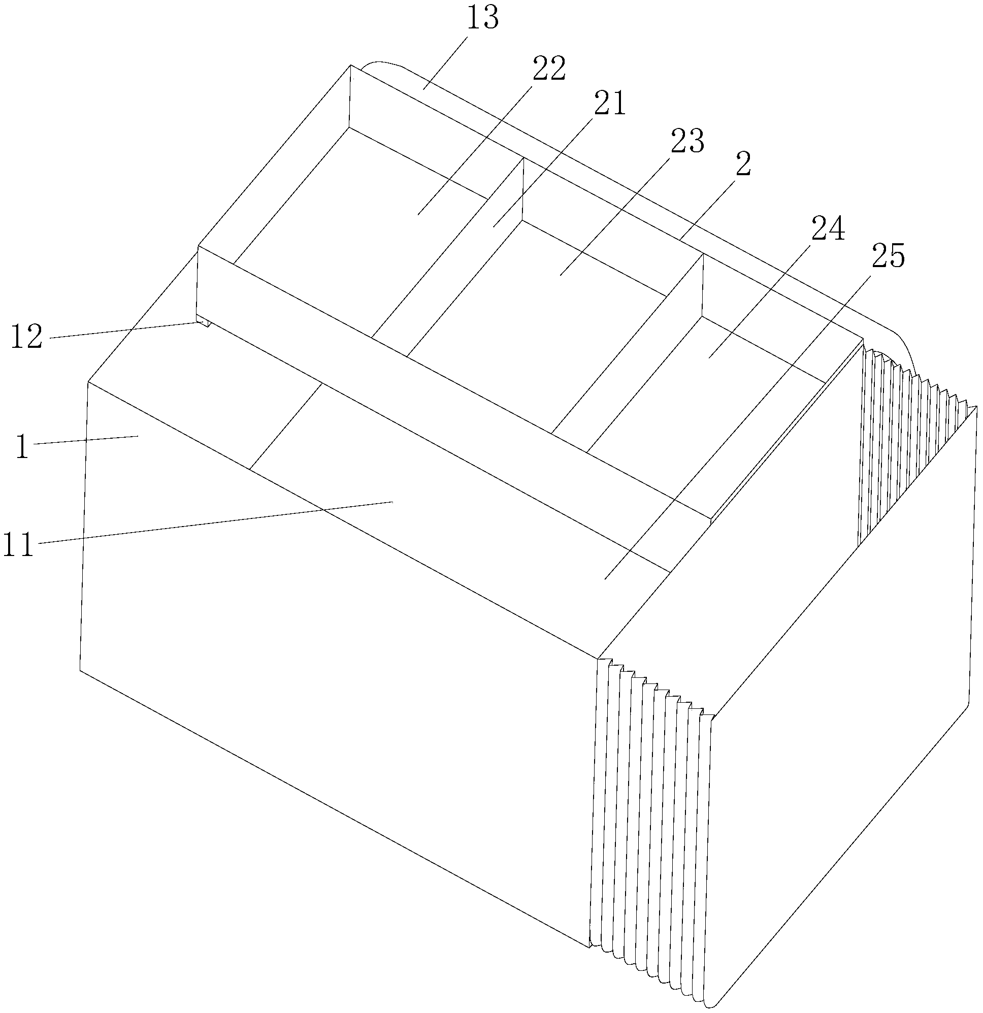
| 摘要: | 本实用新型公开了一种医用床尾收纳盒,包括盒体,所述盒体内具有顶部敞口的手套容纳槽,盒体内的左侧、后侧和右侧在手套容纳槽的上方凸出形成挡缘,挡缘上侧支撑有一可取出的收纳盒,收纳盒通过两个纵向的隔板分隔为从左至右依次布置的体温计容纳槽、血压计容纳槽、酒精容纳槽,收纳盒的前侧与盒体的前侧之间有一取手套口,盒体外的后侧上部有床尾挂钩,盒体外右侧还固定有一可向右扩容的一次性隔离衣及快速手消毒液容纳盒。本实用新型的医用床尾收纳盒能有效利用仅有的空间。 | ||||
| 补充信息 | |||||
| 转让方式: | 成熟度: | 预估价值: | |||
| 市场前景: | |||||