样品
成果详情
| 项目简介 | |||||
|---|---|---|---|---|---|
| 技术简介: | |||||
| 专利类型: | 实用新型 | 专利申请号: | CN202120739987.4 | 公开号: | CN215080601U |
| 专利权人: | 南方医科大学珠江医院 | 发明设计人: | 林宝杰;何海燕 | ||
| 所属领域: | |||||
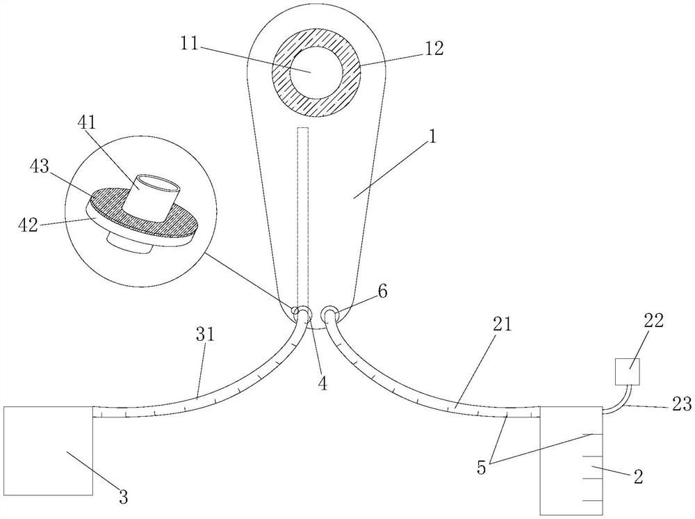
| 摘要: | 本实用新型公开了一种新生儿改良的负压造口袋,包括造口袋、引流瓶和输液泵,所述造口袋的上端开设有一创口,所述创口外周围还设有一圈粘贴盘;所述造口袋下端还设有两个通孔,所述输液泵上连接有一冲洗管,所述冲洗管远离输液泵的一端穿过造口袋的其中一个通孔伸入造口袋内并且另一个通孔通过一引流管与引流瓶连接,所述引流瓶上通过一连接管与一负压装置连接;所述两个通孔上还粘贴安装有密封件并且所述冲洗管或引流管穿过密封件后伸入造口袋内,所述冲洗管或引流管与密封件粘贴密封配合;所述引流管与冲洗管均为透明管并且在引流管与冲洗管上沿长度方向均设有刻度以形成用于观察管内残留液体的结构。本实用新型能够防止排泄物泄漏且记录更加准确。 | ||||
| 补充信息 | |||||
| 转让方式: | 成熟度: | 预估价值: | |||
| 市场前景: | |||||