样品
成果详情
| 项目简介 | |||||
|---|---|---|---|---|---|
| 技术简介: | |||||
| 专利类型: | 实用新型 | 专利申请号: | CN202122009613.X | 公开号: | CN215535580U | 
| 专利权人: | 南方医科大学南方医院 | 发明设计人: | 胡小娜;杨娟 | ||
| 所属领域: | |||||
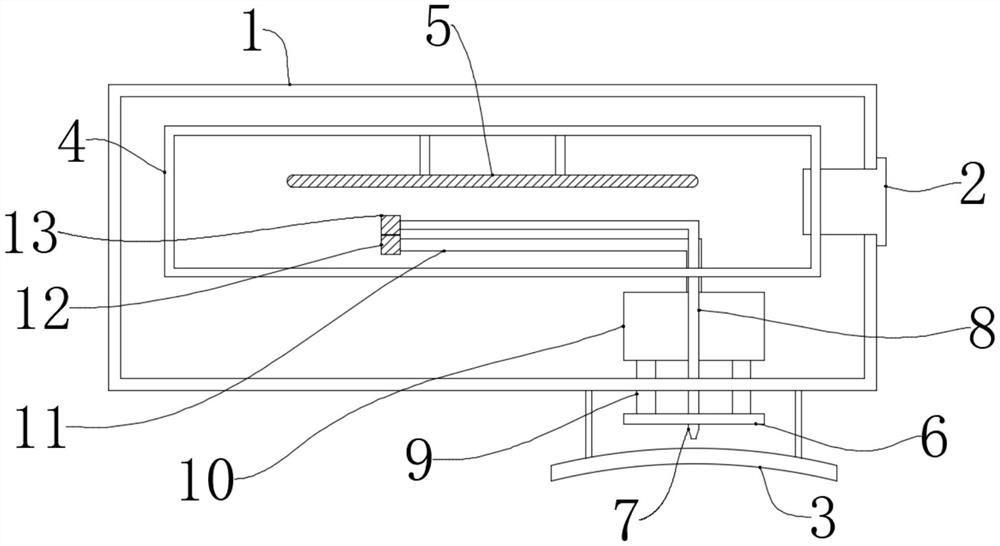
| 摘要: | 本实用新型公开了一种眼科保健用眼液滴加装置,涉及医疗器材技术领域,为解决现有的眼液滴加容易洒落的问题。所述外壳的内部安装有药液盒和内盒,且药液盒和内盒与外壳固定连接,所述外壳外部前端的一侧安装有护眼罩,且护眼罩与外壳固定连接,所述护眼罩内部的一侧安装有喷雾环和滴液管头,且滴液管头位于喷雾环内部的中间位置处,所述喷雾环后端的一侧安装有四个沿环形均匀分布的喷雾管,且喷雾管与喷雾环密封固定,所述喷雾管的一端贯穿外壳并延伸至内盒的内部,所述滴液管头的一端贯穿并延伸至外壳的内部,所述滴液管头位于外壳内部的一端安装有第一连接管,且第一连接管与滴液管头密封固定。 | ||||
| 补充信息 | |||||
| 转让方式: | 成熟度: | 预估价值: | |||
| 市场前景: | |||||