样品
成果详情
| 项目简介 | |||||
|---|---|---|---|---|---|
| 技术简介: | |||||
| 专利类型: | 实用新型 | 专利申请号: | CN202421497787.2 | 公开号: | CN221431453U |
| 专利权人: | 南方医科大学南方医院 | 发明设计人: | 邓雅丹 | ||
| 所属领域: | |||||
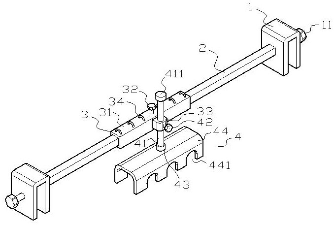
| 摘要: | 本实用新型涉及新生儿手术领域,尤其涉及一种新生儿手术防护装置,该装置可借助新生儿手术床的围挡安装,可向下单侧对肢体进行防护,操作简便,且能调节弯曲角度,提高舒适度。包括前后卡置于新生儿病床围挡上的卡块,所述卡块分别呈下开口的n形结构,卡块外侧分别向内旋拧有用于限位的第一螺栓,前后卡块之间固定设有方形的滑杆,滑杆上设有具有限位功能的滑动件,滑动件一侧设有可上下滑动并限位的防护件。滑动件包括滑动套设于滑杆上的方形的套筒,套筒一侧设有用于限位的第二螺栓;套筒一侧固定设有横向的固定块,固定块中竖向滑动设有防护件;套筒上表面还间隔固定设有若干固定耳。它操作简单,使用方便,适用于多种患儿。 | ||||
| 补充信息 | |||||
| 转让方式: | 成熟度: | 预估价值: | |||
| 市场前景: | |||||