样品
成果详情
| 项目简介 | |||||
|---|---|---|---|---|---|
| 技术简介: | |||||
| 专利类型: | 实用新型 | 专利申请号: | CN202120636920.8 | 公开号: | CN215083305U |
| 专利权人: | 南方医科大学深圳医院 | 发明设计人: | 陈凌武 | ||
| 所属领域: | |||||
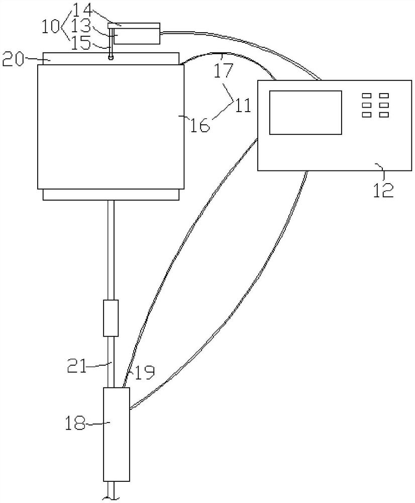
| 摘要: | 本实用新型涉及一种可以增压、升温及测速的输液装置,包括称重组件、安装在称重组件上用于悬挂输液袋的悬挂组件、用于挤压悬挂组件上的输液袋的挤压组件、对输液袋所连输液管加热的加热组件、工控机;称重组件、挤压组件以及加热组件,均与工控机电连接并受其控制。改进后的输液装置除了具备基本的悬挂功能,还具备对输液袋进行加压以加快液体输送速度、对所输送液体进行加热、检测液体滴速的功能。 | ||||
| 补充信息 | |||||
| 转让方式: | 成熟度: | 预估价值: | |||
| 市场前景: | |||||