样品
成果详情
| 项目简介 | |||||
|---|---|---|---|---|---|
| 技术简介: | |||||
| 专利类型: | 实用新型 | 专利申请号: | CN202021746777.X | 公开号: | CN213249532U |
| 专利权人: | 南方医科大学南方医院 | 发明设计人: | 毕广良;丁静 | ||
| 所属领域: | |||||
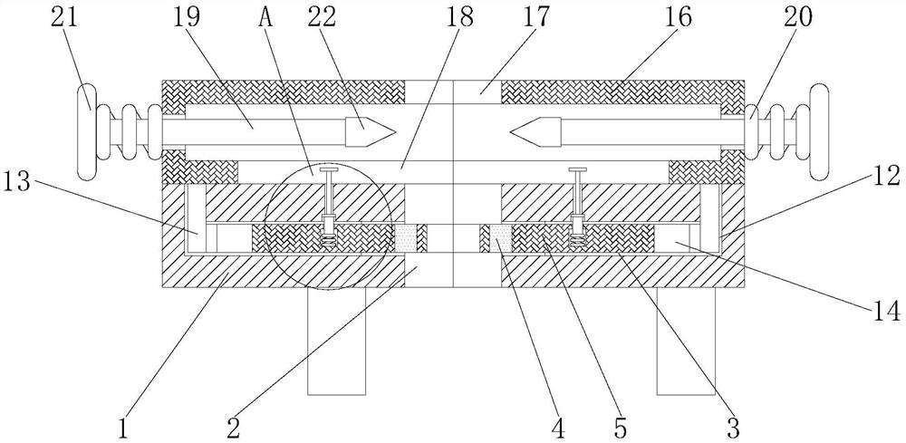
| 摘要: | 本实用新型公开了脐动静脉置管脐带固定切割器,包括下安装块,两个下安装块之间的后侧转轴活动连接,所述下安装块顶部和底部相对的一侧均开设有第一通孔。本实用新型通过设置固定块、推块、安装腔、第一弹簧、卡块、卡槽、压板、压杆、定位槽、连接板、转块、连接杆、第二弹簧、按块、切割刀、固定板和第三弹簧的配合使用,具备不会将脐带完全压扁便于插管的优点,解决了传统脐带切割,靠用镊子提起来,消毒、铺无菌巾,然后用手术刀切开的过程中,容易出现术区污染,以及脐带血管切口不平或脐带根部弯曲等导致后续难以插管等问题。 | ||||
| 补充信息 | |||||
| 转让方式: | 成熟度: | 预估价值: | |||
| 市场前景: | |||||