样品
成果详情
| 项目简介 | |||||
|---|---|---|---|---|---|
| 技术简介: | |||||
| 专利类型: | 实用新型 | 专利申请号: | CN202220846031.9 | 公开号: | CN217311517U | 
| 专利权人: | 南方医科大学南方医院 | 发明设计人: | 曹岩岩 | ||
| 所属领域: | |||||
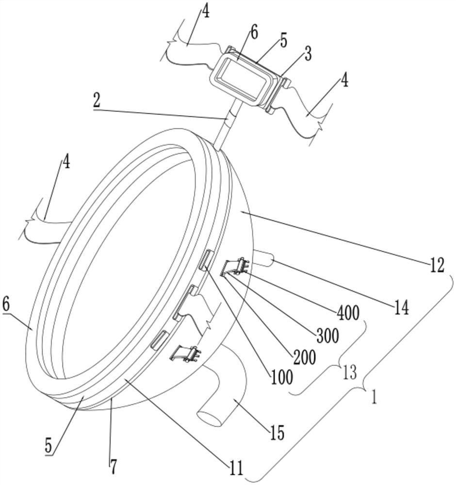
| 摘要: | 本实用新型公开了一种呼吸机用防压疮面罩,包括面罩本体以及通过伸缩杆与该面罩本体连接的护额底座,在面罩本体、护额底座的两侧均设有固定绑带;面罩本体包括内部中空的面罩底座,在面罩底座的一侧铰接有一能够盖合在该面罩底座上的盖合罩,在面罩底座、盖合罩上远离其铰接端的一端设有至少一个锁紧结构且面罩底座、盖合罩之间通过该锁紧结构锁紧盖合和开启敞开,在盖合罩的外罩面上设有排气口以及与外部呼吸机连接的进气口;在面罩底座、护额底座上紧靠患者面部的一端均设有减压垫,在每一减压垫上均可拆卸设有一工作时能够与患者面部相贴合的凝胶套。本实用新型具有使用方便、能够防止压疮并且在长时间佩戴时不易引起患者不适的优点。 | ||||
| 补充信息 | |||||
| 转让方式: | 成熟度: | 预估价值: | |||
| 市场前景: | |||||