样品
成果详情
| 项目简介 | |||||
|---|---|---|---|---|---|
| 技术简介: | |||||
| 专利类型: | 实用新型 | 专利申请号: | CN202420527050.4 | 公开号: | CN222426146U |
| 专利权人: | 南方医科大学深圳医院 | 发明设计人: | 夏瑰丽;夏瑰林 | ||
| 所属领域: | |||||
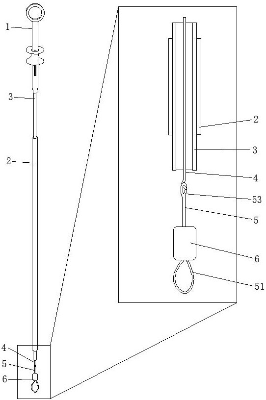
| 摘要: | 本实用新型公开了一种内镜用新型套扎圈,包括手柄、推管、外套管、内钩、卡桩及套带,手柄远端与推管近端固定连接并且内部相通;外套管紧紧包绕在推管上且在一定推拉力下能沿着推管移动;内钩安装在手柄和推管内部,其近端与手柄上的一内钩控制环固定连接,其远端与推管内壁紧密贴合且能够被推出或者拉入推管内;卡桩内设有平行排列的卡齿,卡齿方向斜向近端;套带穿过卡桩内部,套带的近端是能钩在内钩上及用于牵拉的线圈结构,其远端为套扎圈,套带的中间为位于卡桩内部的硬质卡带,硬质卡带设有平行排列的卡齿,硬质卡带的卡齿方向斜向远端并且在套带被牵拉时能卡在卡桩内的卡齿上。本实用新型的内镜用新型套扎圈对胃肠道壁无损伤。 | ||||
| 补充信息 | |||||
| 转让方式: | 成熟度: | 预估价值: | |||
| 市场前景: | |||||