样品
成果详情
| 项目简介 | |||||
|---|---|---|---|---|---|
| 技术简介: | |||||
| 专利类型: | 实用新型 | 专利申请号: | CN202022333806.6 | 公开号: | CN213552783U | 
| 专利权人: | 南方医科大学南方医院 | 发明设计人: | 宋霞丽;廖卫华;徐慧颖;文牡;方晓英;曾鹏程;张俊亮 | ||
| 所属领域: | |||||
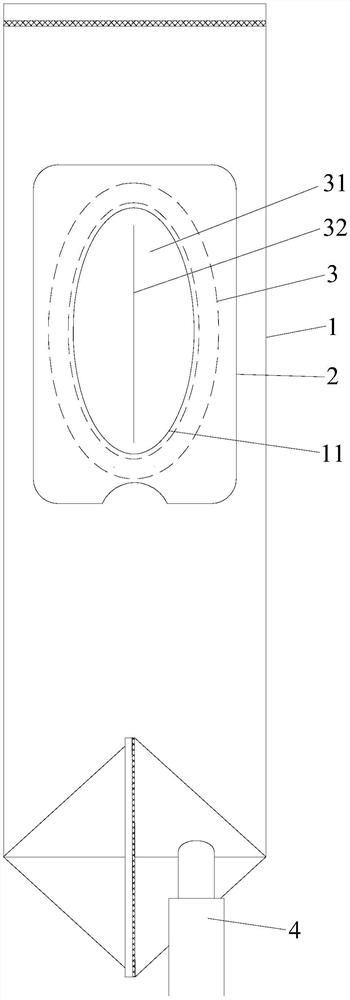
| 摘要: | 本实用新型公开了一种尿袋,包括尿袋,尿袋的前侧开设有尿液采集孔,尿袋的前侧外表面在尿液采集孔的周围粘贴有一层粘贴层,所述尿袋前侧内表面在尿液采集孔的周围粘贴有一可打开和关闭尿液采集孔的单向瓣膜阀,单向瓣膜阀朝向尿袋后侧拱起呈弧形结构。本实用新型的尿袋避免了尿液从尿液采集孔反流出来。 | ||||
| 补充信息 | |||||
| 转让方式: | 成熟度: | 预估价值: | |||
| 市场前景: | |||||