样品
成果详情
| 项目简介 | |||||
|---|---|---|---|---|---|
| 技术简介: | |||||
| 专利类型: | 实用新型 | 专利申请号: | CN202122157765.4 | 公开号: | CN217014755U | 
| 专利权人: | 南方医科大学南方医院 | 发明设计人: | 袁丽红;陈乐辉;邓瑛瑛 | ||
| 所属领域: | |||||
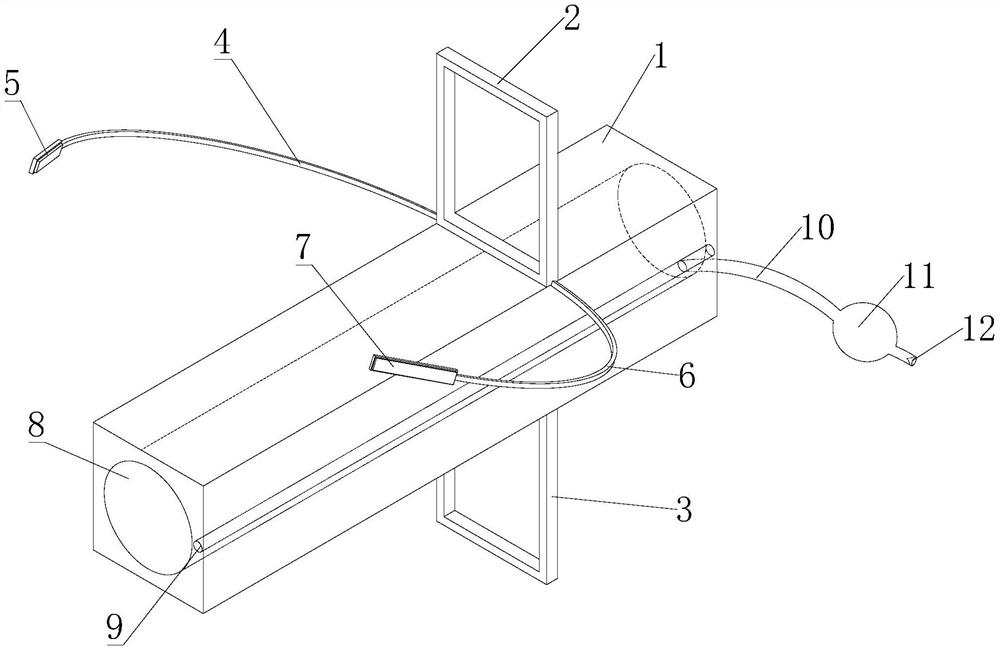
| 摘要: | 本实用新型公开了一种多功能牙垫,在牙垫主体的上下两侧分别设置了上、下侧耳,以及在上侧耳的下端左右两侧分别设置了左、右弹性带及左、右魔术贴,并在牙垫主体的中间设置了中空圆管,以及在中空圆管的右侧位置设置了气囊槽,外连接管与气囊槽的末端连接,外连接管的另一端与气囊连接,气囊与单向充气导管连接,单向充气导管可有效防止气囊槽充气后发生漏气,在使用时,把牙垫主体放入口腔内,上、下侧耳对准牙齿外缘,并通过左、右弹性带及左、右魔术贴固定在患者头部位置,外置的胃管通过气囊槽进入胃内,然后通过单向充气导管往气囊槽里面充气,充气完成气囊槽将胃管紧紧包裹在里面,有效防止胃管发生脱出。 | ||||
| 补充信息 | |||||
| 转让方式: | 成熟度: | 预估价值: | |||
| 市场前景: | |||||
