样品
成果详情
| 项目简介 | |||||
|---|---|---|---|---|---|
| 技术简介: | |||||
| 专利类型: | 实用新型 | 专利申请号: | CN202020137034.6 | 公开号: | CN211911642U | 
| 专利权人: | 南方医科大学南方医院 | 发明设计人: | 邓水娟;周君桂;周春兰;刘瑜;唐影 | ||
| 所属领域: | |||||
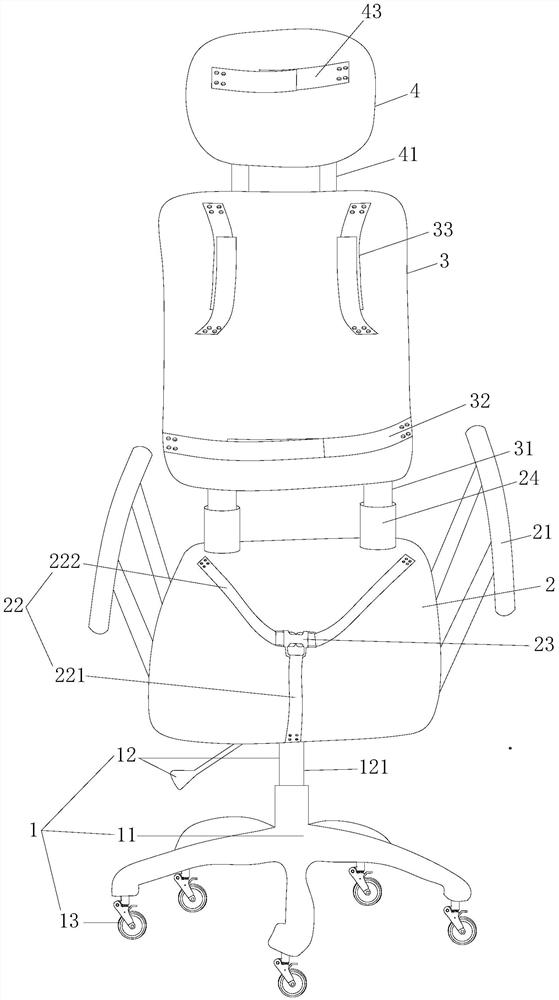
| 摘要: | 本实用新型公开了一种吞咽造影座椅,包括座椅,所述座椅包括底座、坐垫部、靠背部和头枕部,坐垫部可旋转地安装在底座上端,坐垫部的两侧有扶手,坐垫部的上侧有腿部固定带,靠背部可拆卸地安装在坐垫部上,靠背部的前侧下部有腰部固定带,靠背部的前侧上部有肩部固定带,头枕部高度可调节地安装在靠背部上,头枕部的前侧上部有头额部固定带。本实用新型的吞咽造影座椅在给脑卒中病人做造影看吞咽动作时,可以省时省力。 | ||||
| 补充信息 | |||||
| 转让方式: | 成熟度: | 预估价值: | |||
| 市场前景: | |||||