样品
成果详情
| 项目简介 | |||||
|---|---|---|---|---|---|
| 技术简介: | |||||
| 专利类型: | 实用新型 | 专利申请号: | CN201920890890.6 | 公开号: | CN210472624U |
| 专利权人: | 南方医科大学南方医院 | 发明设计人: | 蔡丽红;黄榕;陈宝梅;黄少慧;郭萍 | ||
| 所属领域: | |||||
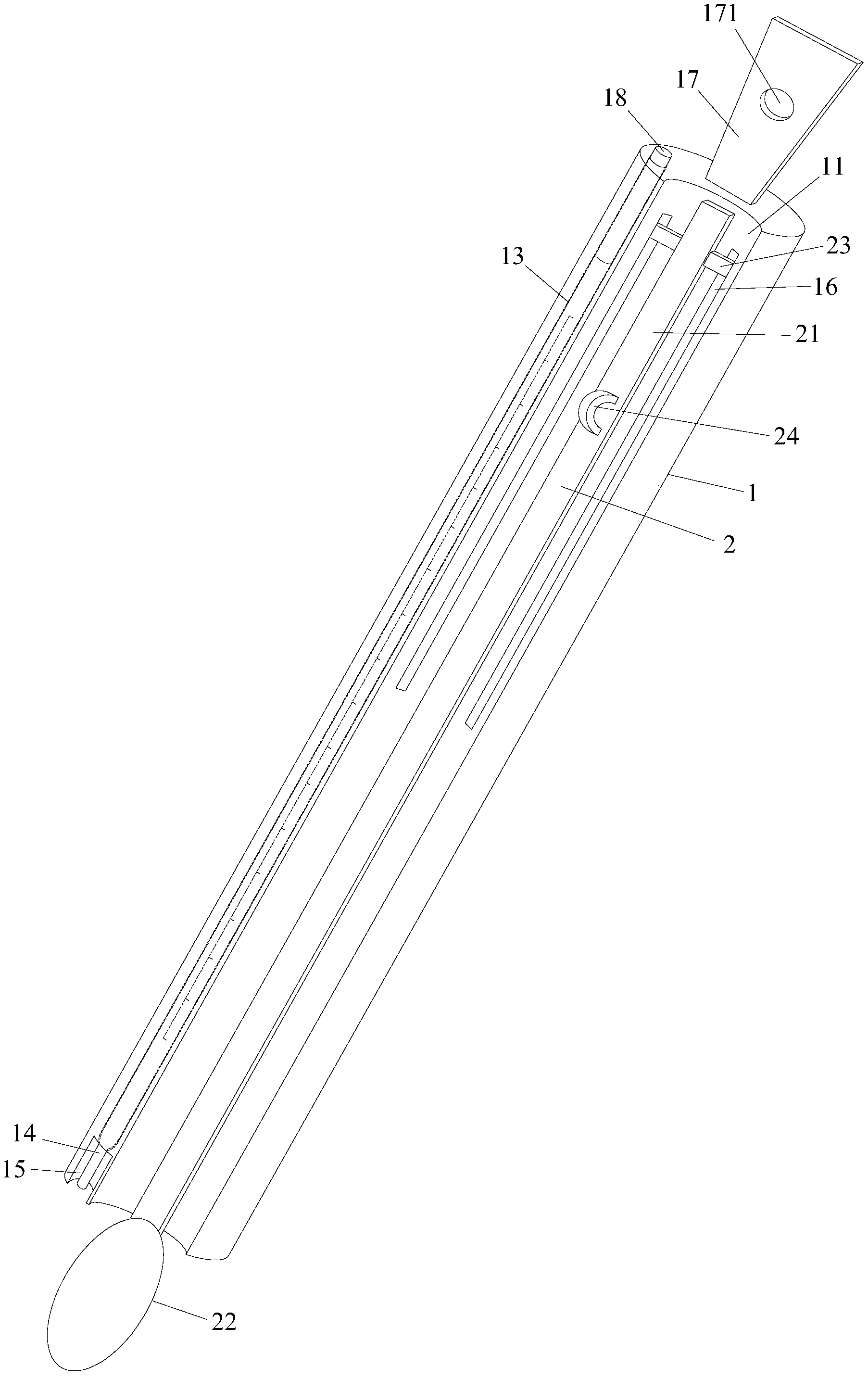
| 摘要: | 本实用新型公开了一种专用喝泻药的搅拌棒,包括搅拌棒本体、勺子,搅拌棒本体的表面沿着长度方向凹陷形成限位导向槽,勺子的勺柄限位安装在限位导向槽内,勺子的勺头位于限位导向槽外且位于搅拌棒本体的下方,搅拌棒本体在限位导向槽的一侧内部有沿着搅拌棒本体长度方向布置的限位安装槽,限位安装槽内安装有带有温度刻度的水银温度计,搅拌棒本体下端在限位安装槽侧开设有与限位安装槽连通的且使水银温度计的温度测量端裸露的开槽。本实用新型的专用喝泻药的搅拌棒功能多样,既可以用来搅拌泻药,又可以用来喝药,还可以测量水温。 | ||||
| 补充信息 | |||||
| 转让方式: | 成熟度: | 预估价值: | |||
| 市场前景: | |||||