样品
成果详情
| 项目简介 | |||||
|---|---|---|---|---|---|
| 技术简介: | |||||
| 专利类型: | 实用新型 | 专利申请号: | CN201320672273.1 | 公开号: | CN203602602U |
| 专利权人: | 南方医科大学珠江医院 | 发明设计人: | 高毅;张斌斌;李阳;崔晓海;郭彦光 | ||
| 所属领域: | |||||
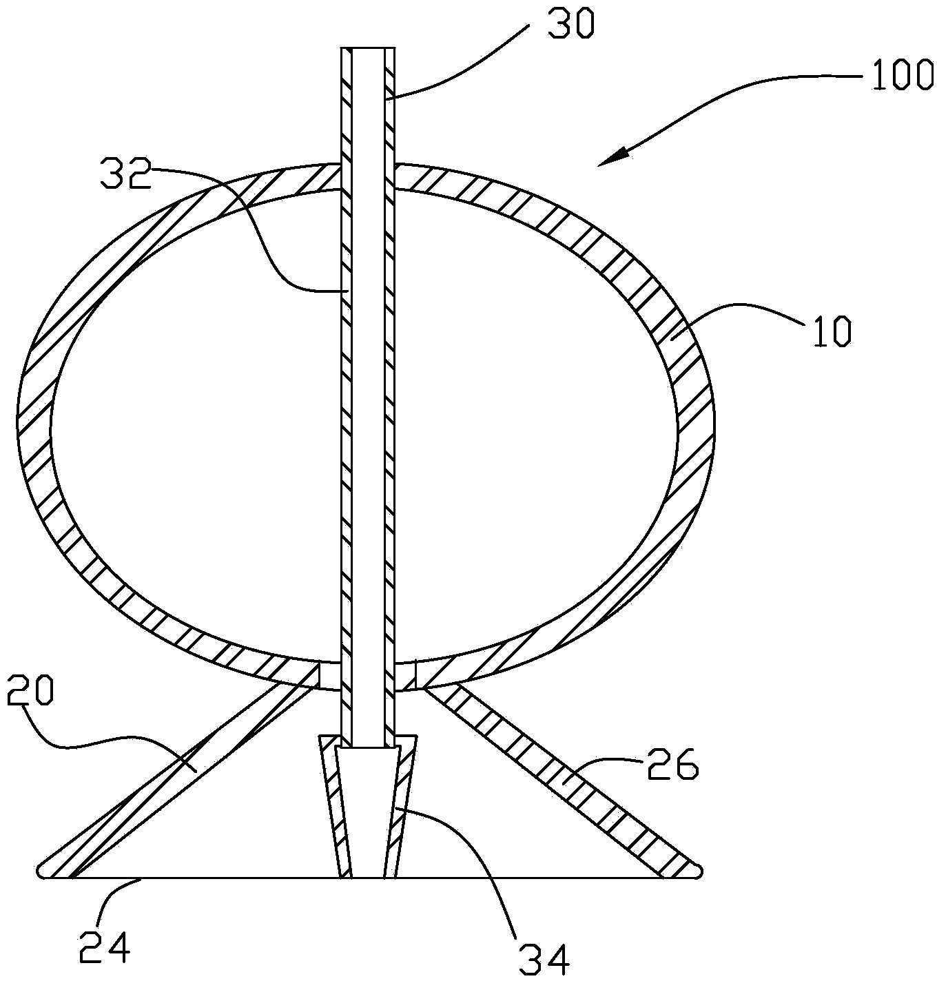
| 摘要: | 本实用新型公开一种负压插管装置,包括:球囊、安装在球囊底部并且与球囊内部导通的吸盘及密封性地从球囊的顶部穿入球囊内并且又从球囊的底部穿出去继而伸入所述吸盘内的插管;所述吸盘具有环形侧壁及形成于环形侧壁底部的环形端面;所述插管包括插入到所述球囊内的主体管及形成于主体管的底部并且伸入到所述吸盘内的插头。所提供的负压插管装置具有操作方便、结构简单、成本低廉且易于调整的优点。 | ||||
| 补充信息 | |||||
| 转让方式: | 成熟度: | 预估价值: | |||
| 市场前景: | |||||