样品
成果详情
| 项目简介 | |||||
|---|---|---|---|---|---|
| 技术简介: | |||||
| 专利类型: | 实用新型 | 专利申请号: | CN202421086484.1 | 公开号: | CN222640729U |
| 专利权人: | 南方医科大学南方医院 | 发明设计人: | 彭阳;刘靖康;郭瑜 | ||
| 所属领域: | |||||
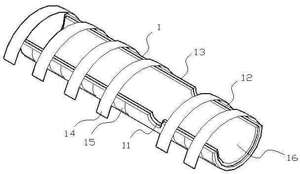
| 摘要: | 本实用新型涉及医疗用具领域,尤其涉及一种下肢模具,该模具采用柔性冰垫进行降温,通过固定带的位置调节贴服程度,且设有对足部垫高的结构,有效解决背景技术中提出的问题。包括柔性的包裹套,所述包裹套整体呈上开口的圆柱筒状,且包裹套上开口处沿包裹套长度方向间隔设有若干横向的固定带,固定带一端与包裹套一侧外表面固定连接,固定带另一端内表面与包裹套另外表面设有相互配合的第一粘扣带;包裹套下半部分上沿嵌有豁口,豁口将包裹套分隔为腿部包裹部和足部包裹部;包裹套内表面通过第二粘扣带粘接设有柔性的冰垫层。它操作简单,使用方便,适用于多种患者。 | ||||
| 补充信息 | |||||
| 转让方式: | 成熟度: | 预估价值: | |||
| 市场前景: | |||||