样品
成果详情
| 项目简介 | |||||
|---|---|---|---|---|---|
| 技术简介: | |||||
| 专利类型: | 实用新型 | 专利申请号: | CN202120101553.1 | 公开号: | CN214969295U | 
| 专利权人: | 南方医科大学南方医院 | 发明设计人: | 陈乐辉;杨达敏;梁研华;尹春平 | ||
| 所属领域: | |||||
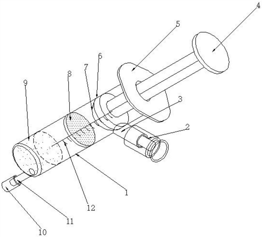
| 摘要: | 本实用新型公开了一种多功能胃肠管注食器,包括针管,所述针管的一端外壁一体连接有夹持襟片,且夹持襟片的中部设有滑孔,所述滑孔的内壁滑动连接有推杆,且推杆的底端外壁卡接有活塞,所述活塞的外壁固定连接有研磨片,所述针管的底端为变色区,所述针管位于变色区的上方设有研磨筛板。本实用新型通过活塞端的研磨片和中部的研磨筛板,转动可对药物研磨呈,减少堵管现象,加药管利用切药塞中的米字型切刀将药物切至可从弹性板漏出的粒度,减少堵管,底部变色区可利用对胃液和小肠液的变色检测,进而判断其管道末端位置,减少管道调节次数,提高注食效果。 | ||||
| 补充信息 | |||||
| 转让方式: | 成熟度: | 预估价值: | |||
| 市场前景: | |||||