样品
成果详情
| 项目简介 | |||||
|---|---|---|---|---|---|
| 技术简介: | |||||
| 专利类型: | 实用新型 | 专利申请号: | CN202322431442.9 | 公开号: | CN221356912U |
| 专利权人: | 南方医科大学珠江医院 | 发明设计人: | 汪洋;张茂苹;梁焯峰;王柏烨;路世龙;袁丽华;温志波 | ||
| 所属领域: | |||||
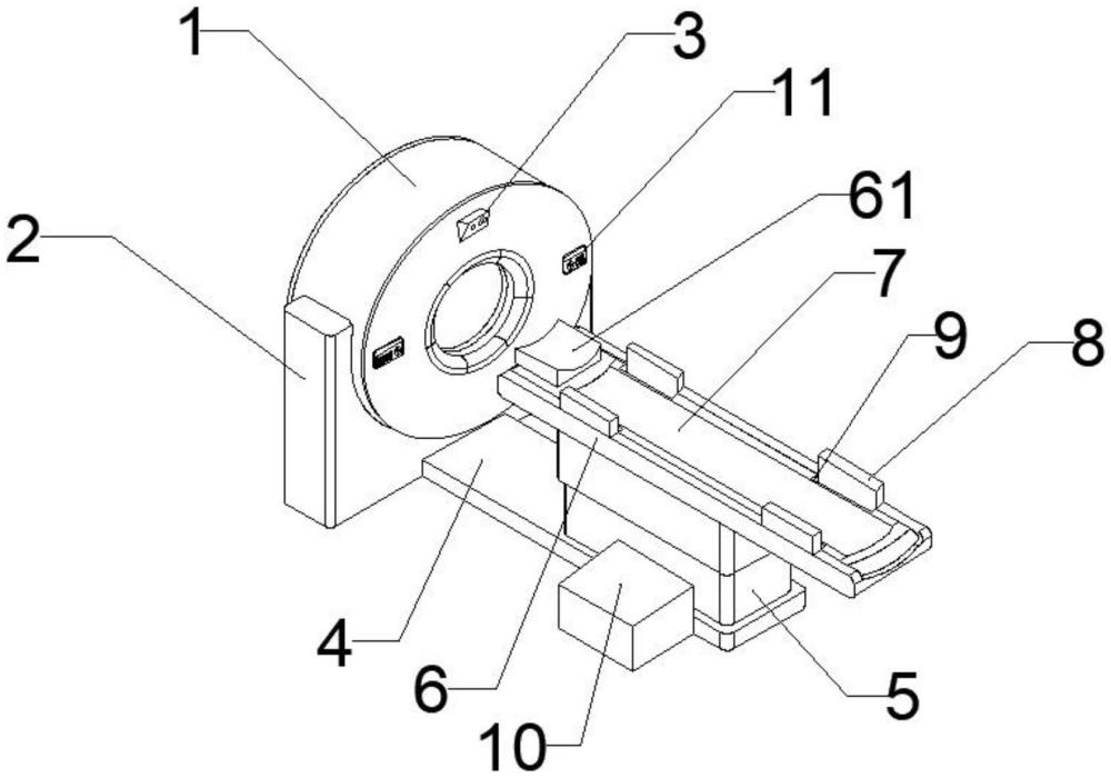
| 摘要: | 本实用新型公开了一种基于深度摄像头的CT扫描机用自动调整身体姿势的床,包括CT扫描仪,支撑座,深度摄像头,床体,调节组件,头部约束枕,底座,调节履带,挡板,所述CT扫描仪设在所述支撑座上,所述深度摄像头设在所述CT扫描仪上,所述所述支撑座侧面固定设有底座,所述底座上设有调节组件,所述床体设在所述调节组件上,所述床体上设有所述头部约束枕,所述床体上表面设有调节履带,所述床体边缘开设有挡板槽,所述挡板设在所述挡板槽内,本实用新型通过深度摄像头来感知患者在CT床上的仰卧位置是否正确,一旦仰卧位置不正确,调节履带和挡板就会开始工作将患者的位置调整正确,减少了患者多次调整位置产生的CT扫描时间。 | ||||
| 补充信息 | |||||
| 转让方式: | 成熟度: | 预估价值: | |||
| 市场前景: | |||||