样品
成果详情
| 项目简介 | |||||
|---|---|---|---|---|---|
| 技术简介: | |||||
| 专利类型: | 实用新型 | 专利申请号: | CN201920426623.3 | 公开号: | CN210301387U |
| 专利权人: | 南方医科大学珠江医院 | 发明设计人: | 黄莉 | ||
| 所属领域: | |||||
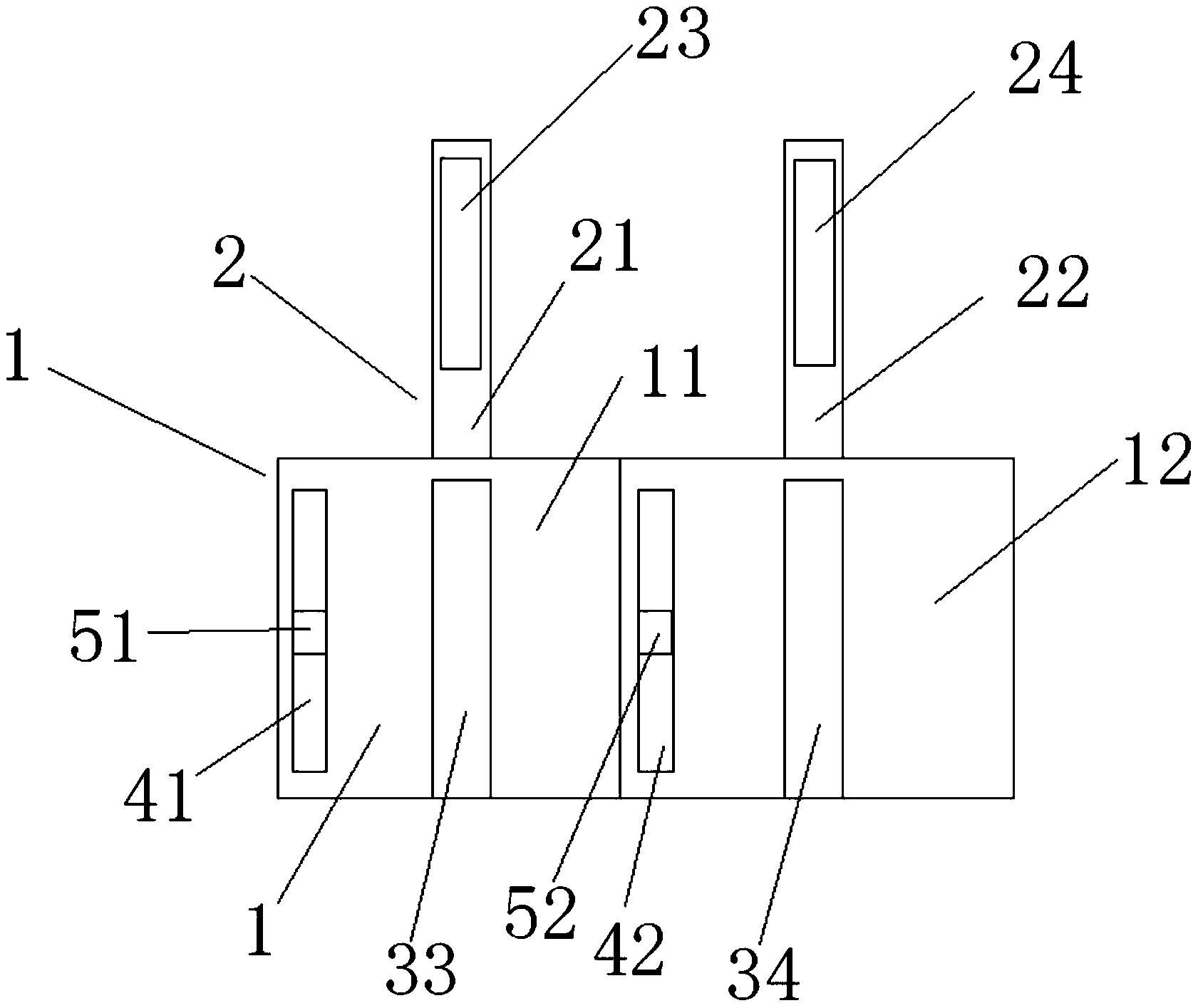
| 摘要: | 本实用新型公开了一种用于四肢关节处冰敷的冰袋固定套,包括套体和固定绷带,所述套体分为第一空腔、第二空腔,所述固定绷带分为第一绷带、第二绷带,所述第一空腔一侧固定连接第一绷带,在所述第一绷带上设有第一魔术贴公面,所述第二空腔一侧固定连接第二绷带,在所述第二绷带上设有第二魔术贴公面,所述第一空腔表面中间位置设有与第一魔术贴公面相匹配的第一魔术贴母面,在所述第二空腔表面中间位置设有与第二魔术贴公面相匹配的第二魔术贴母面,所述第一绷带长度大于第一空腔的纵向宽度,所述第二绷带长度大于第二空腔的纵向宽度。本实用新型避免冰袋脱出、移位,患者可自由下地行走及进行恢复锻炼,其使用简单、方便、舒适。 | ||||
| 补充信息 | |||||
| 转让方式: | 成熟度: | 预估价值: | |||
| 市场前景: | |||||