样品
成果详情
| 项目简介 | |||||
|---|---|---|---|---|---|
| 技术简介: | |||||
| 专利类型: | 发明 | 专利申请号: | CN202011393606.8 | 公开号: | CN112478402B | 
| 专利权人: | 南方医科大学南方医院 | 发明设计人: | 许波;许重远;张丽芬;康玲;陈晓云;任素桃 | ||
| 所属领域: | |||||
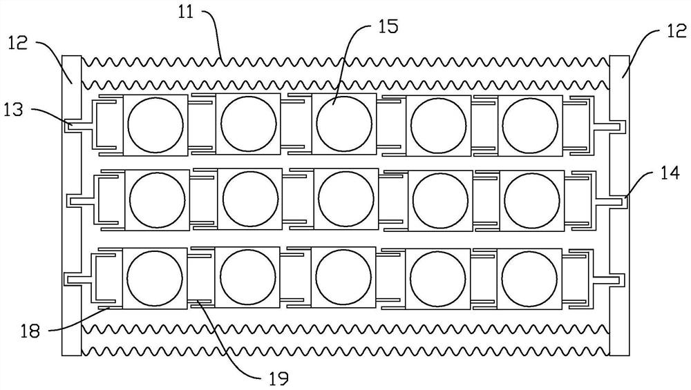
| 摘要: | 本发明公开了可调节宽度的冻存储存容器,包括箱体、至少一个冻存格和箱盖,箱体具有两个相对设置的第一侧壁,两个第一侧壁之间通过两个伸缩壁和具有伸缩功能的底层连接以形成第一腔体,所述伸缩壁和底层内填充有无水酒精,所述第一侧壁内设置有至少一个第二腔体和至少一个第三腔体,所述第二腔体用于接收伸缩壁的无水酒精,所述第三腔体用于接收底层的无水酒精;冻存格置于所述第一腔体内;箱盖用于遮盖箱体。本发明通过具有伸缩功能的伸缩壁和底层连接两个第一侧壁,可以调两个第一侧壁之间的距离,进而调整第一腔体能放置冻存格的空间和冻存格的数量,以匹配不同临床试验的需要。 | ||||
| 补充信息 | |||||
| 转让方式: | 成熟度: | 预估价值: | |||
| 市场前景: | |||||