样品
成果详情
| 项目简介 | |||||
|---|---|---|---|---|---|
| 技术简介: | |||||
| 专利类型: | 实用新型 | 专利申请号: | CN202221746788.7 | 公开号: | CN218305127U |
| 专利权人: | 南方医科大学珠江医院 | 发明设计人: | 甘桂英;胡丽娟 | ||
| 所属领域: | |||||
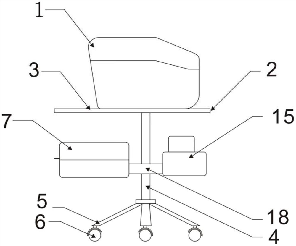
| 摘要: | 本实用新型公开了一种无创呼吸机用的移动式置物装置,包括无创呼吸机以及用于安置无创呼吸机的机架,所述机架包括支撑杆,所述支撑杆的上端安装有面板,所述支撑杆的下端安装有脚架,所述无创呼吸机放置在面板上,所述支撑杆中部外缘固定有安装架,安装架一端通过螺杆连接有无创呼吸机湿化装置放置架并且安装架的另一端通过螺杆安装有置物盒;本实用新型通过在安置无创呼吸机的机架上安装置物盒以及无创呼吸机湿化装置放置架来解决现有技术的不足,还通过改进置物盒内结构,达到方便放置无创呼吸面罩、电源接线固定、紧急情况下不需外接电源等多个目的,且本实用新型使用简单、操作方便,具有极大的市场推广价值。 | ||||
| 补充信息 | |||||
| 转让方式: | 成熟度: | 预估价值: | |||
| 市场前景: | |||||