样品
成果详情
| 项目简介 | |||||
|---|---|---|---|---|---|
| 技术简介: | |||||
| 专利类型: | 实用新型 | 专利申请号: | CN202220610551.X | 公开号: | CN218356792U |
| 专利权人: | 南方医科大学深圳医院 | 发明设计人: | 曹丹丹;邓童;郑喜春 | ||
| 所属领域: | |||||
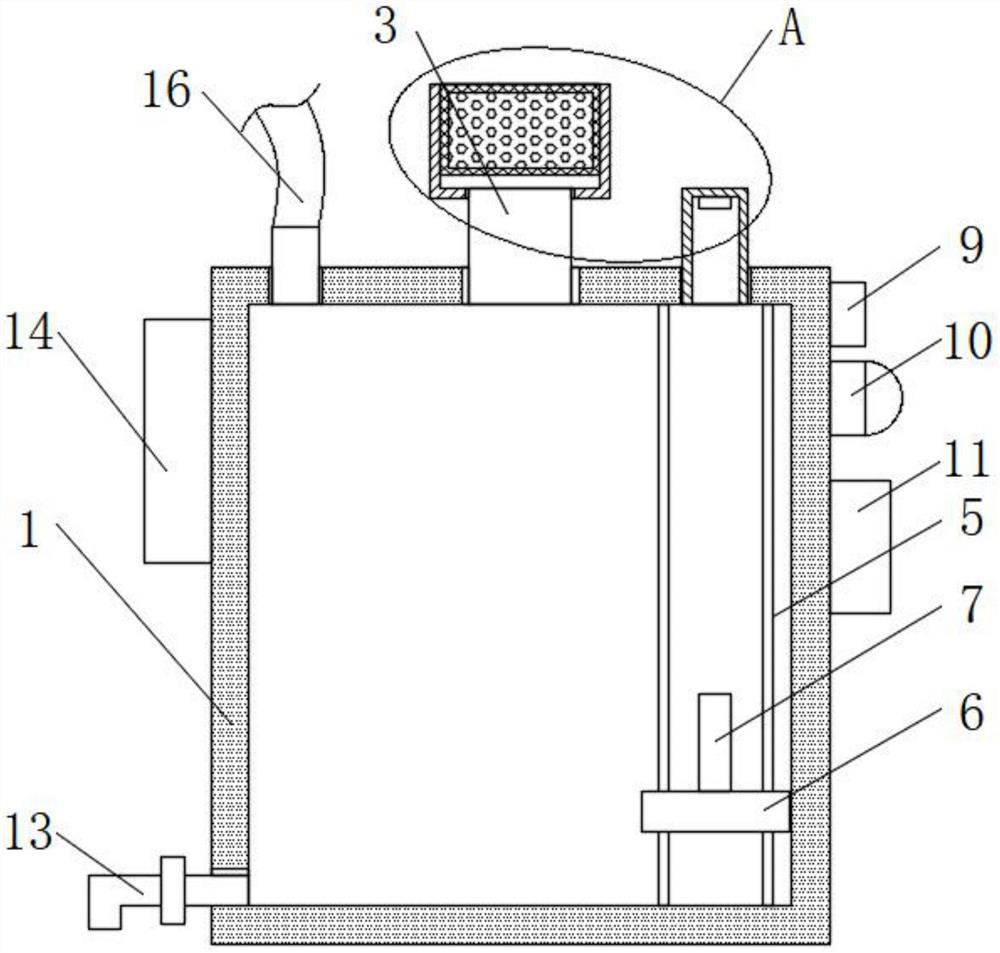
| 摘要: | 本实用新型公开了一种膀胱冲洗引流液收集装置,包括透明收集筒,所述透明收集筒的上表面设置有与透明收集筒连通的排气管,且排气管的顶端外表面设置有净化盒,透明收集筒的上表面开设有安装开口,且安装开口的内壁固定安装有连接框,透明收集筒的内底壁设置有与连接框相对应的两个滑杆,且两个滑杆的表面滑动连接有浮块,浮块的上表面固定安装有顶杆。该膀胱冲洗引流液收集装置,在实际使用的过程中,当透明收集筒内的液体增加时,能够带动浮块向上移动,当浮块上的顶杆与接触传感器接触时,接触传感器将信号传递给PLC控制器,PLC控制器自动控制蜂鸣报警器和闪烁报警灯开启,实现对医护人员及时有效提醒的目的。 | ||||
| 补充信息 | |||||
| 转让方式: | 成熟度: | 预估价值: | |||
| 市场前景: | |||||