样品
成果详情
| 项目简介 | |||||
|---|---|---|---|---|---|
| 技术简介: | |||||
| 专利类型: | 实用新型 | 专利申请号: | CN201920502377.5 | 公开号: | CN210056412U |
| 专利权人: | 南方医科大学南方医院 | 发明设计人: | 宋洁;黄榕;郭亚云;陈青青;刘映晨;谢一色 | ||
| 所属领域: | |||||
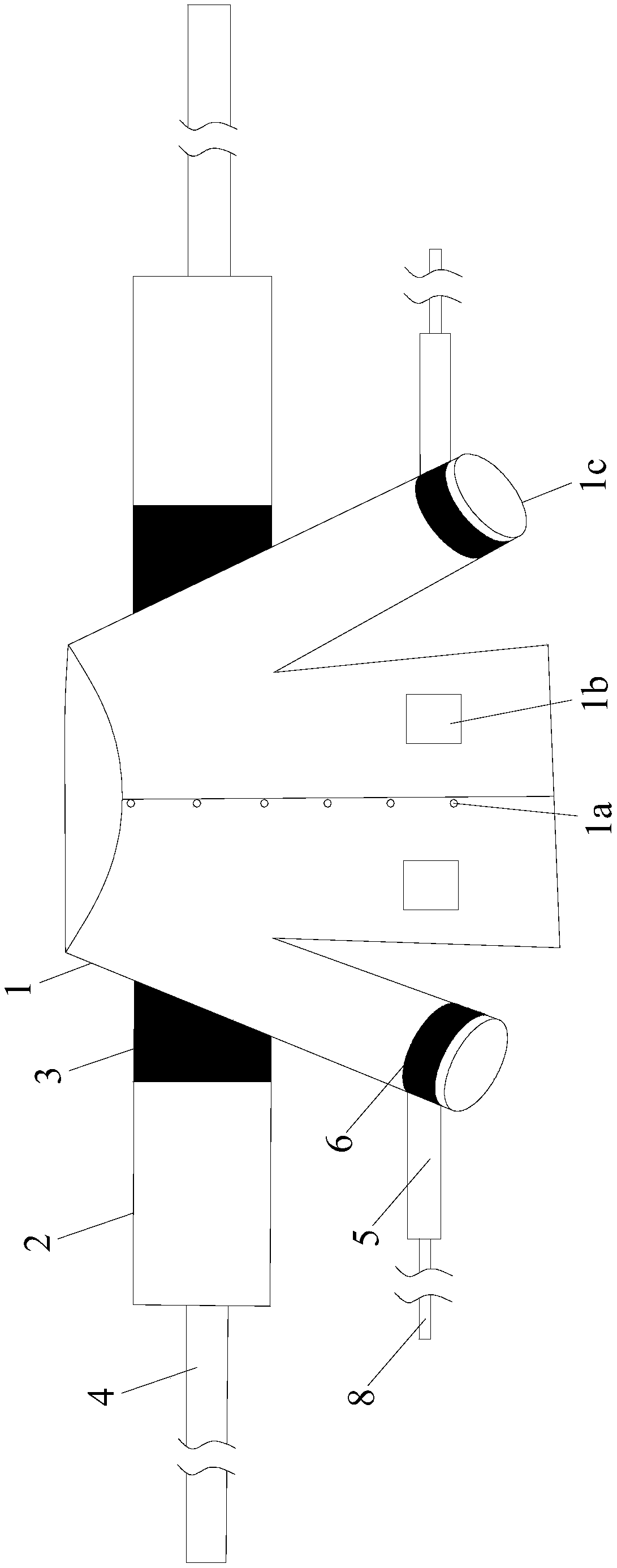
| 摘要: | 本实用新型公开了一种带有约束功能的病号服,包括病号服本体,所述病号服本体的两侧衣袖肩臂部位置分别固定有一条约束带一,两条约束带一能够交叉约束且分别覆盖相应侧肩臂部位置,两条约束带一的自由端分别固定有一床栏固定带一,病号服本体的两侧衣袖的袖口位置分别固定有一条能够缠绕相应袖口一圈并反折的约束带二,两条约束带二的自由端分别固定一床栏固定带二。本实用新型的带有约束功能的病号服可最大程度的提高约束功能。 | ||||
| 补充信息 | |||||
| 转让方式: | 成熟度: | 预估价值: | |||
| 市场前景: | |||||