样品
成果详情
| 项目简介 | |||||
|---|---|---|---|---|---|
| 技术简介: | |||||
| 专利类型: | 实用新型 | 专利申请号: | CN202023043018.X | 公开号: | CN214387534U | 
| 专利权人: | 南方医科大学南方医院 | 发明设计人: | 李涛;梁洁;王玉享;周腾;李胜龙;孙晓兰;郝静文;张华蓉;刘鹤;阳艳霞;胡晴;辛佳佳 | ||
| 所属领域: | |||||
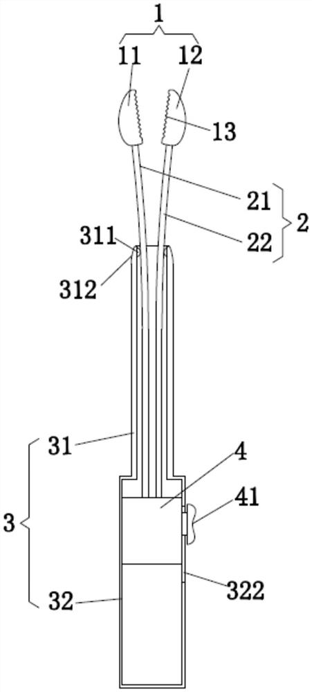
| 摘要: | 本实用新型公开了一种多功能瘘道探针结构,包括探头和探针杆体结构,所述探头包括相对布置的第一探头体和第二探头体;探针杆体结构包括第一杆体和第二杆体,第一杆体一端与第一探头体连接,第二杆体一端与第二探头体连接;所述探针杆体结构上设有能使第一探头体和第二探头体在相互靠近和相互远离之间切换的夹持驱动结构。本实用新型提供的多功能瘘道探针结构,既能用于检查瘘道,还能辅助引流管的放置和活检取样,具有功能多样性,方便手术操作。 | ||||
| 补充信息 | |||||
| 转让方式: | 成熟度: | 预估价值: | |||
| 市场前景: | |||||