样品
成果详情
| 项目简介 | |||||
|---|---|---|---|---|---|
| 技术简介: | |||||
| 专利类型: | 实用新型 | 专利申请号: | CN202220048992.5 | 公开号: | CN216823613U |
| 专利权人: | 南方医科大学珠江医院 | 发明设计人: | 彭冬先;陈洁;王苹苹;黄雪梅;黄钰婷;廖琼秀 | ||
| 所属领域: | |||||
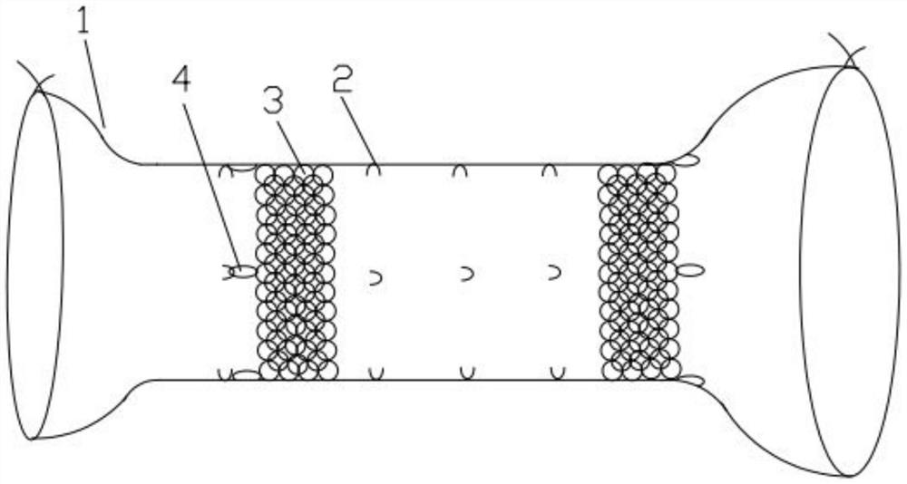
| 摘要: | 本实用新型公开了一种简易的经阴道取子宫的阴道保护装置,包括外层的双头套袋和内层的防割层,所述双头套袋为两端开口结构,在所述双头套袋的内侧壁固定有固定线,其中,所述防割层通过所述固定线打结的方式固定在所述双头套袋内。本实用新型结构简单,灵活性好,临床使用过程中操作简便,减少了切割子宫过程的肿瘤腹腔播散种植可能。 | ||||
| 补充信息 | |||||
| 转让方式: | 成熟度: | 预估价值: | |||
| 市场前景: | |||||