样品
成果详情
| 项目简介 | |||||
|---|---|---|---|---|---|
| 技术简介: | |||||
| 专利类型: | 发明 | 专利申请号: | CN202410296174.0 | 公开号: | CN117883068A |
| 专利权人: | 南方医科大学南方医院 | 发明设计人: | 邓秋花;林玉英;齐宏亮;王贤萍 | ||
| 所属领域: | |||||
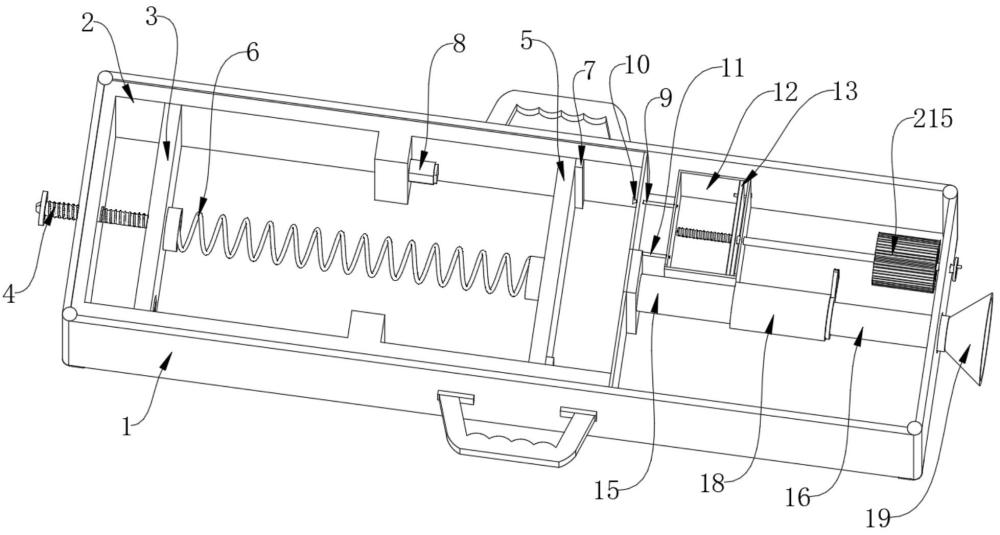
| 摘要: | 本发明提供一种防止交叉感染的呼吸分析和呼吸功能训练装置一体机,属于呼吸分析和训练技术领域。包括安装箱,所述安装箱内部空腔左侧设置有气盒,所述气盒内部空腔左侧设置有调节板,所述安装箱和气盒左侧壁螺纹连接有螺纹柱,所述螺纹柱右侧顶端抵触连接调节板,所述气盒内部空腔右侧设置有活动板,所述活动板通过弹簧连接调节板,所述气盒前后内壁右侧处设置有限位条,所述气盒内腔后壁居中凸块上设置有压力传感器,所述气盒右侧壁贯穿连接一号管,所述一号管左侧顶端安装有喷头,该呼吸功能训练装置使用过程中,通过气管的旋转拧出和旋转拧进对该装置的内部空气流通部位达到消毒和清洁的效果。 | ||||
| 补充信息 | |||||
| 转让方式: | 成熟度: | 预估价值: | |||
| 市场前景: | |||||