样品
成果详情
| 项目简介 | |||||
|---|---|---|---|---|---|
| 技术简介: | |||||
| 专利类型: | 实用新型 | 专利申请号: | CN202121285617.4 | 公开号: | CN215309004U |
| 专利权人: | 南方医科大学珠江医院 | 发明设计人: | 刘卫 | ||
| 所属领域: | |||||
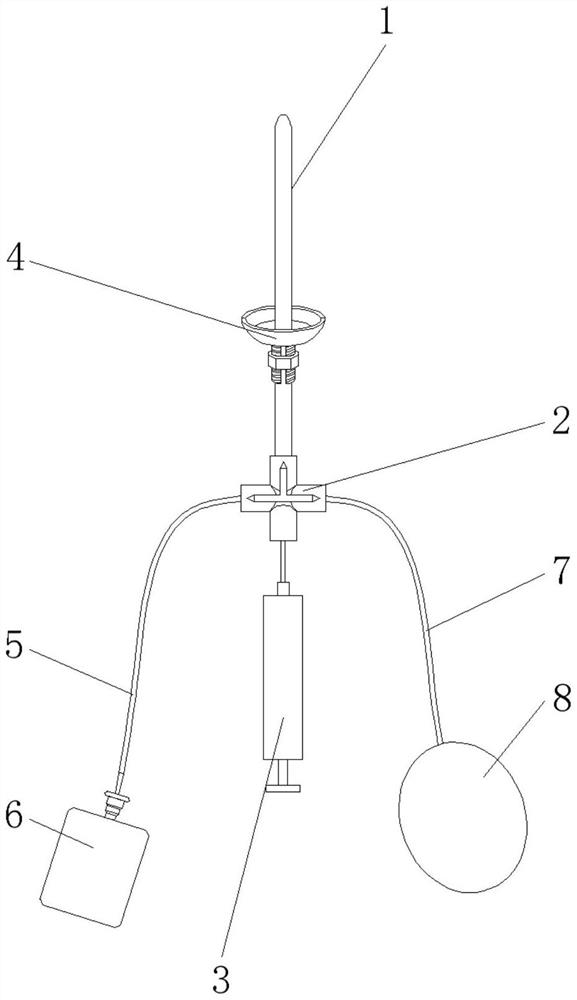
| 摘要: | 本实用新型公开了一种新生儿密闭式灌肠器。一种新生儿密闭式灌肠器,包括肛管、注射器和连接肛管与注射器的带有开关的多通接头,在所述肛管上装设有能够沿肛管的长度方向进行直线来回运动的防护罩组件,所述多通接头的一端通过一冲洗管与一冲洗袋连接在一起,所述多通接头的另一端通过一收集管与一废液袋连接在一起。本实用新型一种新生儿密闭式灌肠器,使用简单方便并且能够减轻医护人员的工作量和有助于防疫防控工作。 | ||||
| 补充信息 | |||||
| 转让方式: | 成熟度: | 预估价值: | |||
| 市场前景: | |||||