样品
成果详情
| 项目简介 | |||||
|---|---|---|---|---|---|
| 技术简介: | |||||
| 专利类型: | 实用新型 | 专利申请号: | CN202020391339.X | 公开号: | CN212438671U |
| 专利权人: | 南方医科大学珠江医院 | 发明设计人: | 曹秀云;李双华 | ||
| 所属领域: | |||||
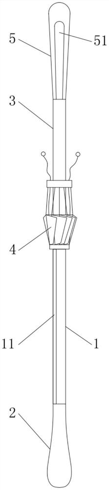
| 摘要: | 本实用新型公开了一种改良式鼻咽拭子采集结构。一种改良式鼻咽拭子采集结构,包括拭子本体,所述拭子本体的一端设有拭子头,其中,在所述拭子本体的另一端设有抓持部,在靠近所述抓持部的拭子本体上装设有挡片组件,在所述挡片组件和拭子头之间的拭子本体上设有用于标尺距离的刻度,所述抓持部的末端设有压舌板。本实用新型一种改良式鼻咽拭子采集结构,操作简单方便并且能够降低感染风险。 | ||||
| 补充信息 | |||||
| 转让方式: | 成熟度: | 预估价值: | |||
| 市场前景: | |||||