样品
成果详情
| 项目简介 | |||||
|---|---|---|---|---|---|
| 技术简介: | |||||
| 专利类型: | 实用新型 | 专利申请号: | CN202323570717.3 | 公开号: | CN222260326U |
| 专利权人: | 南方医科大学南方医院 | 发明设计人: | 张婷婷;林炎虹;易亚亚;彭乔伊;刘丹阳;钟晓红;陈琪;龚妮容 | ||
| 所属领域: | |||||
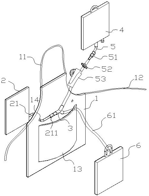
| 摘要: | 本实用新型涉及腹膜透析领域,尤其涉及一种可重复使用仿真式可穿戴腹膜透析培训教具,该教具可模拟透析液的导入、导出,并将透析液复位,实现可重复利用。包括围裙主体,围裙主体顶部固定设有弧形挂绳,围裙主体左右两侧固定设有系绳,围裙主体前后两侧分别固定设有上开口的口袋,口袋上侧的围裙主体上左右间隔设有穿孔,后侧口袋中储放有带有刻度的第一袋体,第一袋体通过外接短管穿过其中一个穿孔并与三通阀一个开口相连,三通阀另外两个开口分别通过第一管路和第二管路与储放透析液的第二袋体和盛接透析液的第三袋体相连接;第二袋体和第三袋体分别悬挂于可翻转调节位置的支撑结构上。它操作简单,使用方便,适用于医院、培训等多种机构。 | ||||
| 补充信息 | |||||
| 转让方式: | 成熟度: | 预估价值: | |||
| 市场前景: | |||||