样品
成果详情
| 项目简介 | |||||
|---|---|---|---|---|---|
| 技术简介: | |||||
| 专利类型: | 实用新型 | 专利申请号: | CN202122746564.8 | 公开号: | CN216294379U |
| 专利权人: | 南方医科大学珠江医院 | 发明设计人: | 吕周;黄莉 | ||
| 所属领域: | |||||
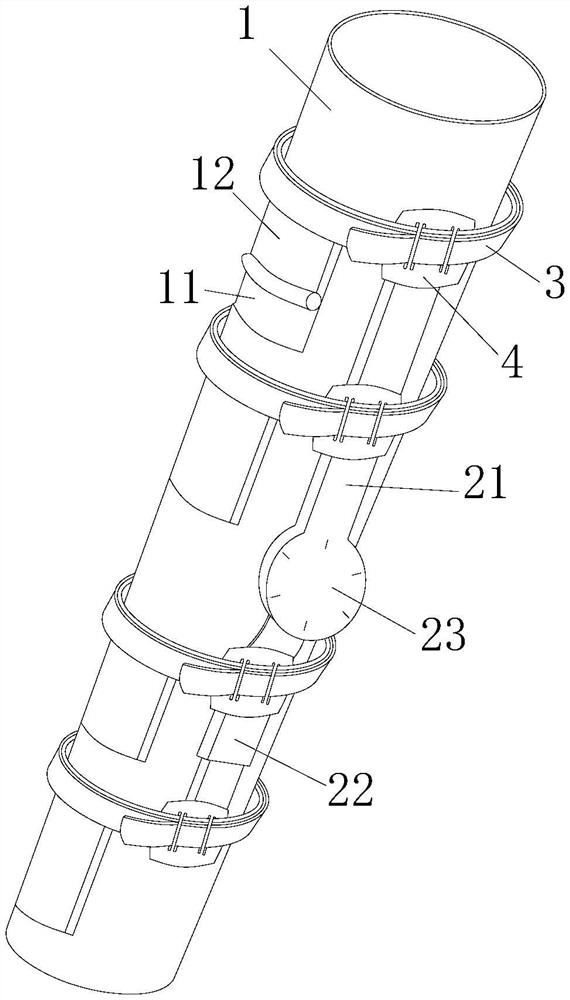
| 摘要: | 本实用新型公开了一种带有专用腿套的膝关节支具,包括由依次连接的上支具、调节盘和下支具组成的膝关节支具,还包括腿套,所述腿套为与人腿部形状相吻合的长条形套体,该长条形套体在使用时与所述腿套的长度与上支具和下支具相匹配,其中,所述上支具和下支具均为可滑动调节长度的支具,所述腿套的其中一面设有至少两个窗口,各所述窗口上均设有一可调节的布帘,所述腿套与布帘相反的一面为整块布料,并且所述上支具和下支具的外周侧还设有至少两个固定带连接固定,其中,可通过调节所述上支具和下支具的长度使窗口的位置与各所述固定带的位置交错设置。本实用新型方便穿戴,较为舒适,并且方便对患者腿部进行检查或注射、更换药物等操作。 | ||||
| 补充信息 | |||||
| 转让方式: | 成熟度: | 预估价值: | |||
| 市场前景: | |||||