样品
成果详情
| 项目简介 | |||||
|---|---|---|---|---|---|
| 技术简介: | |||||
| 专利类型: | 发明 | 专利申请号: | CN202310743335.1 | 公开号: | CN116493287A |
| 专利权人: | 南方医科大学南方医院 | 发明设计人: | 李拓妮;张萍 | ||
| 所属领域: | |||||
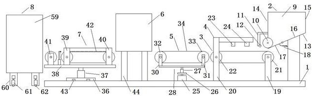
| 摘要: | 本发明涉及片材输送整理装置领域,尤其涉及一种病历自动整理归档设备,包括底板、病历计数送进装置、皮带传送平台、扫描识别装置、整理归类单元、废纸回收装置、退纸台、病历过渡架、装订传送单元、病历存储车及控制装置,病历计数送进装置用于将病历纸输送到皮带传送平台并计数,扫描识别装置用于对皮带传送平台上的病历纸进行扫描识别并根据结果传递给控制装置,控制装置控制整理归类单元对病历纸进行相应处理,正常的病历纸按照归档规则进入病历过渡架,再从病历过渡架按序逐一输送到装订传送单元,在装订传送单元上对病历纸堆进行齐整装订,装订后的病历再传送到病历存储车中按序存储。本发明实现了对病历的自动化整理归档,提升了归档效率。 | ||||
| 补充信息 | |||||
| 转让方式: | 成熟度: | 预估价值: | |||
| 市场前景: | |||||