样品
成果详情
| 项目简介 | |||||
|---|---|---|---|---|---|
| 技术简介: | |||||
| 专利类型: | 发明 | 专利申请号: | CN202211653925.7 | 公开号: | CN115755416A |
| 专利权人: | 南方医科大学珠江医院 | 发明设计人: | 曾宇宏;李泽桦;李泽聪;陆柏成;赖志敬 | ||
| 所属领域: | |||||
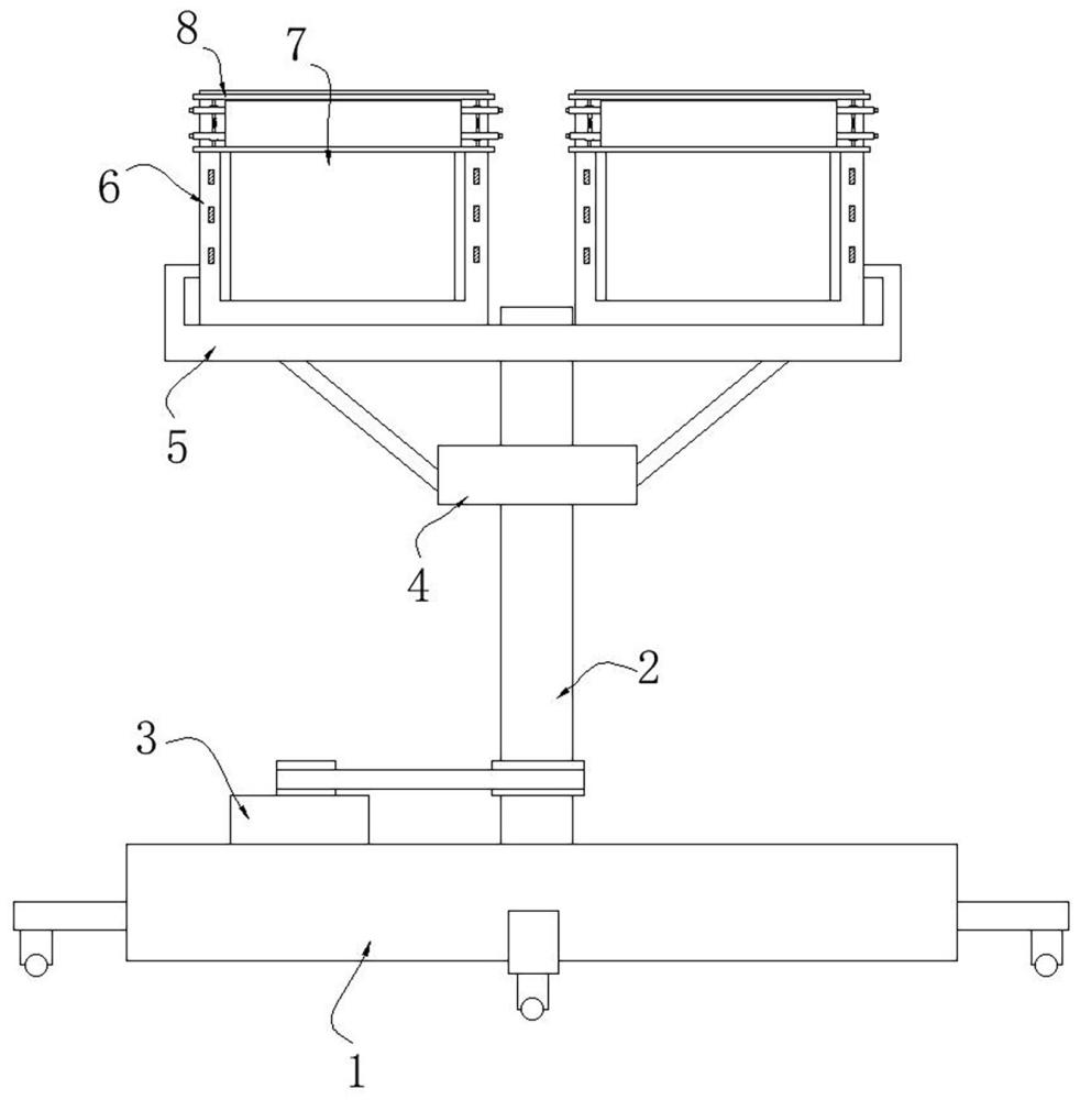
| 摘要: | 本申请实施例提供一种医院专用阅片装置,移动底座、托架、阅片箱以及放片组件,移动底座的表面上设有驱动件以及可转动的转轴,转轴上滑动连接有连接件,驱动件用于驱动转轴进行旋转,以带动连接件在转轴上进行升降运动;托架活动地设于远离移动底座的一端,并与连接件连接,且托架上至少设有一支撑板,支撑板上开设有安装位;阅片箱安装在安装位内,并与支撑板的表面相平齐;放片组件设于支撑板的前表面,并位于阅片箱的发光侧的正前方;其中,在驱动件驱动转轴旋转的情况下,托架被带动沿转轴的设置方向进行升降运动,以使阅片箱调节至所需的阅片高度。本申请实施例的技术方案,既可以满足对不同高度的阅片需求,又可以实现对不同大小的片子进行阅片。 | ||||
| 补充信息 | |||||
| 转让方式: | 成熟度: | 预估价值: | |||
| 市场前景: | |||||