样品
成果详情
| 项目简介 | |||||
|---|---|---|---|---|---|
| 技术简介: | |||||
| 专利类型: | 实用新型 | 专利申请号: | CN202323164490.2 | 公开号: | CN221751727U |
| 专利权人: | 南方医科大学南方医院 | 发明设计人: | 李惠君 | ||
| 所属领域: | |||||
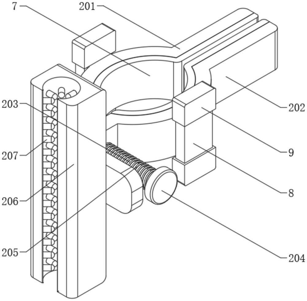
| 摘要: | 本实用新型涉及放疗科护理技术领域,且公开了一种放疗科护理用输液管的加固机构,包括支撑杆,所述支撑杆的外侧设置有灵活夹持机构,灵活夹持机构包括第一弧形夹板和第二弧形夹板,第一弧形夹板的内壁固定连接有滑杆,滑杆远离第一弧形夹板的一端固定连接有挡盘,滑杆的外表面套设有回力弹簧,第一弧形夹板的左侧面固定连接有限位块。该放疗科护理用输液管的加固机构,通过设置有支撑杆、第一弧形夹板、第二弧形夹板、滑杆、挡盘和回力弹簧的相互配合,第二弧形夹板能够沿着滑杆相对于第一弧形夹板滑动,进而在挡盘的辅助下压缩的回力弹簧能够回顶第二弧形夹板,起到第一弧形夹板和第二弧形夹板之间能夹持支撑杆等结构的作用。 | ||||
| 补充信息 | |||||
| 转让方式: | 成熟度: | 预估价值: | |||
| 市场前景: | |||||