样品
成果详情
| 项目简介 | |||||
|---|---|---|---|---|---|
| 技术简介: | |||||
| 专利类型: | 实用新型 | 专利申请号: | CN201820752256.1 | 公开号: | CN208192259U |
| 专利权人: | 南方医科大学珠江医院 | 发明设计人: | 曹秀云;范梅霞 | ||
| 所属领域: | |||||
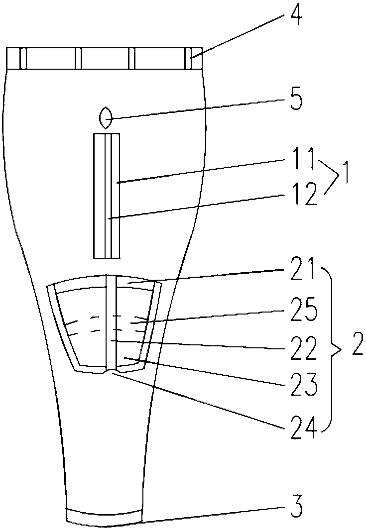
| 摘要: | 本实用新型创新公开了一种改良的医用裤子,裤头的下方裤腿外侧设置有用于引流管穿过的穿管洞,所述穿管洞下方的裤腿上设置有容纳引流袋的裤兜,所述穿管洞和裤兜间的裤腿上设置有用于将引流管隐藏的穿管通道,所述裤兜的底部设置有用于将引流袋的放液口伸出裤兜从而便于引流袋放液的放液开口。在本实用新型中通过依次设置穿管洞、穿管通道和裤兜形成完整的对引流管和引流袋进行隐藏的结构,能够保护患者隐私,有利于患者正常的社交。 | ||||
| 补充信息 | |||||
| 转让方式: | 成熟度: | 预估价值: | |||
| 市场前景: | |||||