样品
成果详情
| 项目简介 | |||||
|---|---|---|---|---|---|
| 技术简介: | |||||
| 专利类型: | 实用新型 | 专利申请号: | CN202322164645.6 | 公开号: | CN221831137U |
| 专利权人: | 南方医科大学珠江医院 | 发明设计人: | 赵敏;钟春霞;陈诗莹 | ||
| 所属领域: | |||||
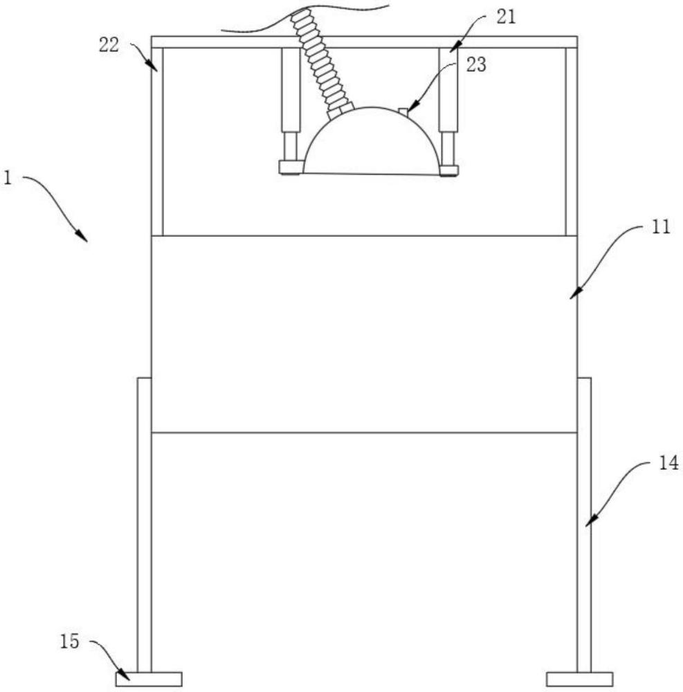
| 摘要: | 本实用新型公开了一种婴儿臀红用吹氧臀罩,属于婴儿臀红用吹氧臀罩技术领域,其包括婴儿床本体,所述婴儿床本体上设置有吹氧装置,所述婴儿床本体包括床体,所述床体的一侧设置有观察窗,所述床体的底部设置有透气网,所述床体的两侧均固定连接有支撑杆,两个所述支撑杆的底部均固定连接有底座,所述吹氧装置包括连接架,所述连接架固定连接在床体的顶部。本实用新型,通过电动伸缩杆将罩体吹臀装置推置在婴儿臀部位置,使其防护罩贴合臀部,从而直接对儿童的臀部进行吹氧工作,当进行贴合吹氧时,可减少氧气不必要的流失,只需一个人即可操作,简单快捷,无需手持,节约了人工成本,进而扩大了吹氧装置的使用场景。 | ||||
| 补充信息 | |||||
| 转让方式: | 成熟度: | 预估价值: | |||
| 市场前景: | |||||