样品
成果详情
| 项目简介 | |||||
|---|---|---|---|---|---|
| 技术简介: | |||||
| 专利类型: | 实用新型 | 专利申请号: | CN202121123613.6 | 公开号: | CN214806927U | 
| 专利权人: | 南方医科大学南方医院 | 发明设计人: | 洪宇宏;甄莉 | ||
| 所属领域: | |||||
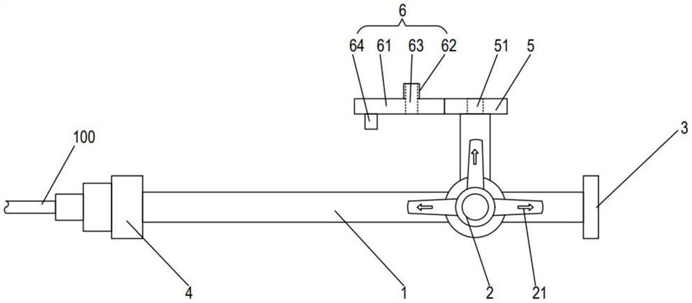
| 摘要: | 本实用新型公开了一种新型肠内营养延长管,包括用于延长及各部件连接支撑的连接管、设置于连接管一端用于与插入病人体内的营养管连接的第一连接头和设置于连接管上第一连接头所在端的相对端用于与灌注器可拆卸连接的第二连接头,所述第二连接头通过用于进行管路连通控制的三通控制阀与连接管连接,所述三通控制阀与连接管和第二连接头连接后剩下的一端与用于进行清理使用的第三连接头连接,所述第三连接头上设置有用于将第三连接头堵住及用于不同尺寸冲洗装置与第三连接头连接的封堵连接控制装置。通过本实用新型能够方便清洗,保证卫生。 | ||||
| 补充信息 | |||||
| 转让方式: | 成熟度: | 预估价值: | |||
| 市场前景: | |||||