样品
成果详情
| 项目简介 | |||||
|---|---|---|---|---|---|
| 技术简介: | |||||
| 专利类型: | 实用新型 | 专利申请号: | CN201921568792.7 | 公开号: | CN212089554U |
| 专利权人: | 南方医科大学深圳医院 | 发明设计人: | 王敏;李向宾;高玉湘;范丽萍;唐益品;李梅;蒙斯雅 | ||
| 所属领域: | |||||
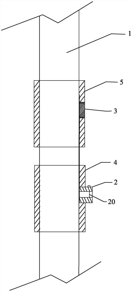
| 摘要: | 本实用新型涉及医疗设备技术领域,公开了改良型动脉抽血导管及动脉抽血装置。本实用新型的改良型动脉抽血导管括导管,所述导管上设有第一接头,所述第一接头通过阀门与所述导管连通,所述导管上还设有第二接头,所述第二接头包括柱体以及橡胶塞,所述柱体的下端与所述导管连通,所述橡胶塞密封设置于所述柱体内。本实用新型的动脉抽血导管可以避免抽血过程中可能产生的血流感染,安全性更高。 | ||||
| 补充信息 | |||||
| 转让方式: | 成熟度: | 预估价值: | |||
| 市场前景: | |||||