样品
成果详情
| 项目简介 | |||||
|---|---|---|---|---|---|
| 技术简介: | |||||
| 专利类型: | 实用新型 | 专利申请号: | CN201820400430.6 | 公开号: | CN207946915U |
| 专利权人: | 南方医科大学珠江医院 | 发明设计人: | 范梅霞;姚璇娟;王莉;杨娟 | ||
| 所属领域: | |||||
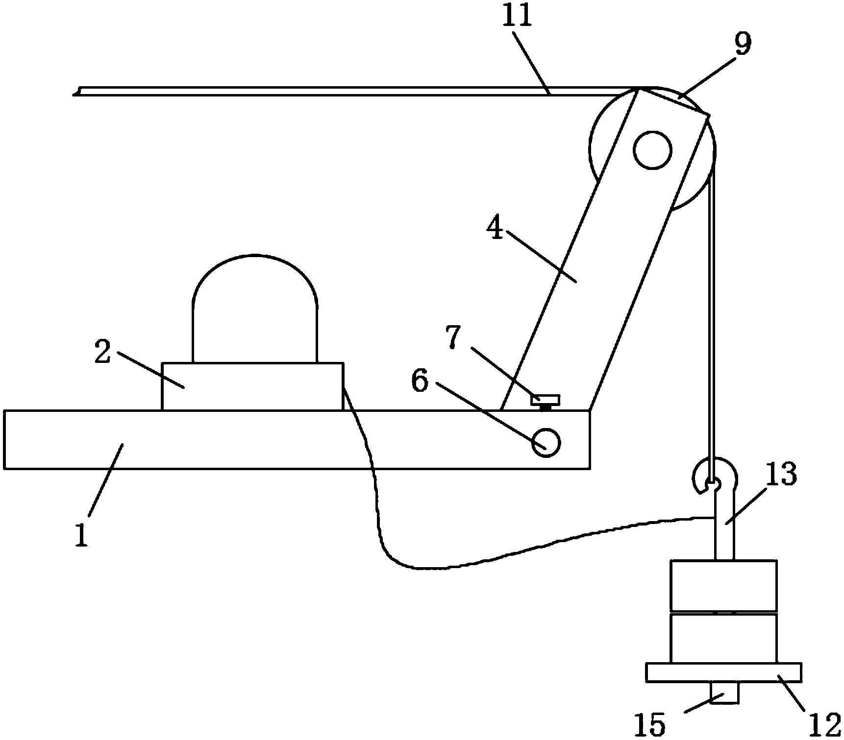
| 摘要: | 本实用新型公开了一种防牵引锤着地报警器,包括支撑板及安装在支撑板上表面的声光报警器,支撑板一侧端开设有第一限位槽,第一限位槽内设置有活动板,砝码盘上表面中部固定焊接有立杆,立杆上端通过拉钩与牵引绳下端连接,砝码盘下表面中部开设有安装槽口,安装槽口内插设有接近开关,接近开关与声光报警器电性连接,通过活动板倾斜于支撑板,在牵引治疗过程中,牵引绳不会碰到病床的床沿,提高了牵引过程中稳定性,当砝码盘即将着地时,声光报警器能够发出警报和灯光提醒患者向牵引力线的反方向移动。本实用新型操作简单,能够使患者时刻保持牵引过程中牵引锤的悬空,防止牵引失效。 | ||||
| 补充信息 | |||||
| 转让方式: | 成熟度: | 预估价值: | |||
| 市场前景: | |||||